802.11g Wireless 4-port Router User's Guide
Table Of Contents
- User’s Guide
- Copyright
- Federal Communications Commission (FCC) Interference Statement
- ZyXEL Limited Warranty
- Customer Support
- Table of Contents
- List of Figures
- List of Tables
- Preface
- Getting to Know Your ZyAIR
- 1.1 Introducing the ZyAIR
- 1.2 ZyAIR Features
- 1.2.1 Physical Features
- 1.2.2 Firmware Features
- 1.2.2.1 Internal RADIUS Server
- 1.2.2.2 Wi-Fi Protected Access
- 1.2.2.3 802.11b Wireless LAN Standard
- 1.2.2.4 802.11g Wireless LAN Standard
- 1.2.2.5 STP (Spanning Tree Protocol) / RSTP (Rapid STP)
- 1.2.2.6 Certificates
- 1.2.2.7 Limit the number of Client Connections
- 1.2.2.8 SSL Passthrough
- 1.2.2.9 Firewall
- 1.2.2.10 Brute-Force Password Guessing Protection
- 1.2.2.11 Wireless LAN MAC Address Filtering
- 1.2.2.12 WEP Encryption
- 1.2.2.13 IEEE 802.1X Network Security
- 1.2.2.14 Universal Plug and Play (UPnP)
- 1.2.2.15 Dynamic DNS Support
- 1.2.2.16 PPPoE Support (RFC2516)
- 1.2.2.17 PPTP Encapsulation
- 1.2.2.18 Network Address Translation (NAT)
- 1.2.2.19 Traffic Redirect
- 1.2.2.20 NAT for Single-IP-address Internet Access
- 1.2.2.21 DHCP (Dynamic Host Configuration Protocol)
- 1.2.2.22 Multicast
- 1.2.2.23 IP Alias
- 1.2.2.24 IP Policy Routing
- 1.2.2.25 SNMP
- 1.2.2.26 Full Network Management
- 1.2.2.27 Logging and Tracing
- 1.2.2.28 Diagnostics Capabilities
- 1.2.2.29 Embedded FTP and TFTP Servers
- 1.2.2.30 Wireless Association List
- 1.2.2.31 Wireless LAN Channel Usage
- 1.3 Applications for the ZyAIR
- Introducing the Web Configurator
- Wizard Setup
- System Screens
- LAN Screens
- Wireless Configuration and Roaming
- Wireless Security
- 7.1 Wireless Security Overview
- 7.2 Security Parameters Summary
- 7.3 WEP Overview
- 7.4 Configuring WEP Encryption
- 7.5 Introduction to WPA
- 7.6 Configuring WPA-PSK Authentication
- 7.7 Wireless Client WPA Supplicants
- 7.8 Configuring WPA Authentication
- 7.9 Introduction to RADIUS
- 7.10 Configuring RADIUS
- 7.11 802.1x Overview
- 7.12 Dynamic WEP Key Exchange
- 7.13 Configuring 802.1x and Dynamic WEP Key Exchange
- 7.14 Configuring 802.1x and Static WEP Key Exchange
- 7.15 Configuring 802.1x
- 7.16 MAC Filter
- Internal RADIUS Server
- WAN
- Single User Account (SUA) / Network Address Translation (NAT)
- Static Route Screens
- Remote Management Screens
- UPnP
- Firewalls
- Firewall Screens
- Content Filtering
- Certificates
- 17.1 Certificates Overview
- 17.2 Self-signed Certificates
- 17.3 Configuration Summary
- 17.4 My Certificates
- 17.5 Certificate File Formats
- 17.6 Importing a Certificate
- 17.7 Creating a Certificate
- 17.8 My Certificate Details
- 17.9 Trusted CAs
- 17.10 Importing a Trusted CA’s Certificate
- 17.11 Trusted CA Certificate Details
- Log Screens
- Maintenance
- Introducing the SMT
- General Setup
- Menu 2 WAN Setup
- LAN Setup
- Internet Access
- Remote Node Configuration
- Static Route Setup
- Dial-in User Setup
- Network Address Translation (NAT)
- Filter Configuration
- Enabling the Firewall
- SNMP Configuration
- System Security
- System Information and Diagnosis
- Firmware and Configuration File Maintenance
- System Maintenance and Information
- Remote Management
- Call Scheduling
- Appendix A
- Appendix B
- Appendix C
- Appendix D
- Appendix E
- Appendix F
- Appendix G
- Appendix H
- Appendix I
- Appendix J
- Appendix K
- Appendix L
- Index

ZyAIR G-2000 Plus User’s Guide
Chapter 29 Filter Configuration 312
CHAPTER 29
Filter Configuration
This chapter shows you how to create and apply filters.
29.1 Introduction to Filters
Your ZyAIR uses filters to decide whether to allow passage of a data packet and/or to make a
call. There are two types of filter applications: data filtering and call filtering. Filters are
subdivided into device and protocol filters, which are discussed later.
Data filtering screens the data to determine if the packet should be allowed to pass. Data filters
are divided into incoming and outgoing filters, depending on the direction of the packet
relative to a port. Data filtering can be applied on either the WAN side or the LAN side. Call
filtering is used to determine if a packet should be allowed to trigger a call. Remote node call
filtering is only applicable when using PPPoE encapsulation. Outgoing packets must undergo
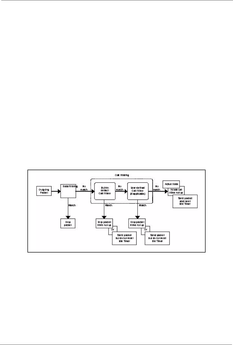
data filtering before they encounter call filtering as shown in the following figure.
Figure 168 Outgoing Packet Filtering Process
For incoming packets, your ZyAIR applies data filters only. Packets are processed depending
upon whether a match is found. The following sections describe how to configure filter sets.