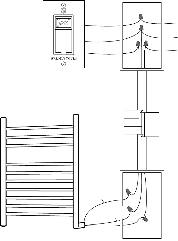
Operating instructions

BLACK or BLUE (Hot)
WHITE or BROWN
(Neutral)
GREEN/YELLOW (Ground)
2” x 4” ELECTRICAL
BOX FOR TIMER
2” x 4” ELECTRICAL BOX
TOWEL WARMER
HOT LOAD
(black or blue)
LINE
(black)
NEUTRAL
(white)
LOAD
(blue)
120 a.c. HOT
NEUTRAL
GROUND
GROUND
(green/yellow)
120 Volt TIMER
NEUTRAL LOAD
(white or brown)
9
Wiring Diagram (Hardwired models only)










