Manual
Table Of Contents

14
Getting started
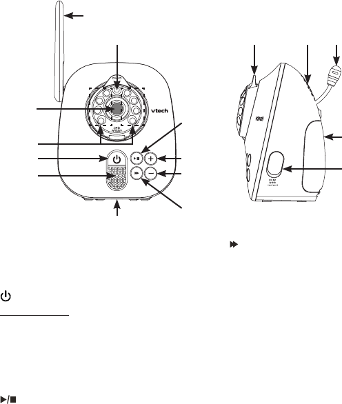
Baby unit overview
5
1
2
3
4
6
12 13 14
15
16
7
8
9
10
11
1
_
Camera
2
_
Infrared LEDs
Backup light for night vision (page 29).
3
_
(On/off)
Press and hold to turn on or off
(page 29).
4
_
Microphone
5
_
Antenna
6
_
Light sensor
7
_
(Play/stop)
Press to play lullabies (page 29).
Press to stop playing lullabies (page 29).
8
_
+
(Volume up)
Press to increase the listening volume
(page 29).
9
_
-
(Volume down)
Press to decrease the listening volume
(page 29).
10
_
(Skip)
Press to skip to the next lullaby
(page 29).
11
_
Threaded socket (1/4 in)
For installation of the provided wall
mount (page 4) or a tripod
(not provided).
12
_
Camera angle adjustment tab
Tilt to adjust camera angle.
13
_
Speaker
To listen to lullabies.
To listen to broadcasts from the
parent unit.
14
_
Temperature sensor
15
_
Battery compartment cover
16
_
Power jack










