User manual

18
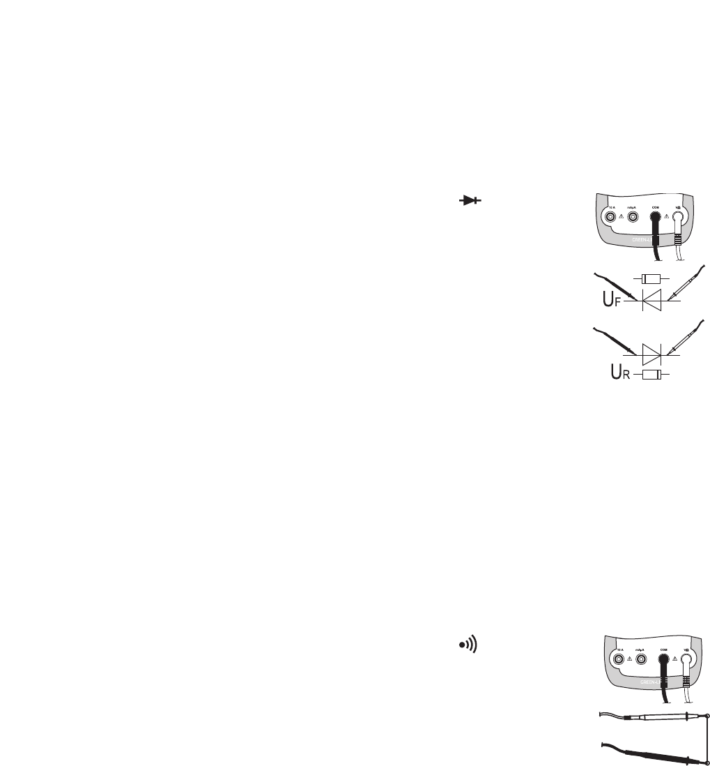
h) Diodentest
Vergewissern Sie sich, dass alle zu messenden Schaltungsteile, Schaltungen und
Bauelemente sowie andere Messobjekte unbedingt spannungslos und entladen
sind.
- Schalten Sie das DMM ein und wählen den Messbereich
.
- Drücken Sie die Taste „SELECT“ (9) um die Messfunktion umzuschalten.
Im Display erscheint das Diodensymbol. Eine erneute Betätigung schal-
tet in die nächste Messfunktion usw.
- Stecken Sie die rote Messleitung in die Ω-Messbuchse (7), die schwarze
Messleitung in die COM-Messbuchse (8).
- Überprüfen Sie die Messleitungen auf Durchgang, indem Sie die beiden
Messspitzen verbinden. Daraufhin muss sich ein Wert von ca. 0 V ein-
stellen.
- Verbinden Sie die beiden Messspitzen mit dem Messobjekt (Diode).
- Im Display wird die Durchlassspannung „UF“ in Volt (V) angezeigt. Ist „OL“ ersichtlich, so wird die
Diode in Sperrrichtung (UR) gemessen oder die Diode ist defekt (Unterbrechung). Führen Sie zur
Kontrolle eine gegenpolige Messung durch.
- Entfernen Sie nach Messende die Messleitungen vom Messobjekt und schalten Sie das DMM aus.
i) Durchgangsprüfung
Vergewissern Sie sich, dass alle zu messenden Schaltungsteile, Schaltungen und
Bauelemente sowie andere Messobjekte unbedingt spannungslos und entladen
sind.
- Schalten Sie das DMM ein und wählen den Messbereich
.
- Drücken Sie die Taste „SELECT“ (9) 2x um die Messfunktion umzu-
schalten. Im Display erscheint das Symbol für Durchgangsprüfung. Eine
erneute Betätigung schaltet in die erste Messfunktion usw.
- Stecken Sie die rote Messleitung in die Ω-Messbuchse (7), die schwarze
Messleitung in die COM-Messbuchse (8).
- Als Durchgang wird ein Messwert < 10 Ohm erkannt und es ertönt ein
Piepton.
- Sobald „OL“ (für Overload = Überlauf) im Display erscheint, haben Sie den Messbereich überschritten
bzw. der Messkreis ist unterbrochen.
- Entfernen Sie nach Messende die Messleitungen vom Messobjekt und schalten Sie das DMM aus.










