User manual
Manuals
Brands
VOLTCRAFT Manuals
Test & Measurement
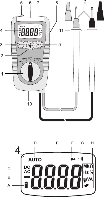
Handheld multimeter, Current clamp digital DMM DT-TEST-KIT 200 Splashproof (IP54) CAT IV 600 V Display (count
1
2
3
4
5
6
7
8
9
10
3
1
2
3
4
5
...
...
30