Projector User Manual

3. Press / to select an aspect ratio to suit the format of the video signal and your
display requirements.
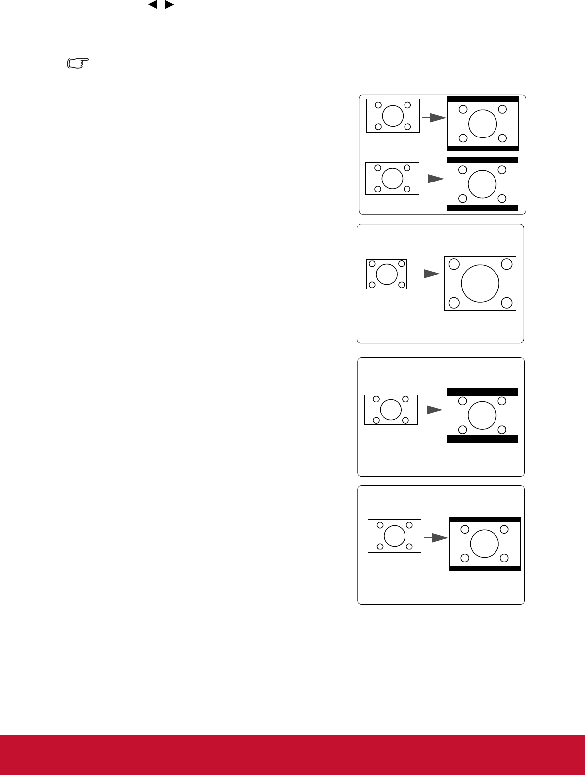
About the aspect ratio
In the pictures below, the black portions are inactive areas and the white portions are active
areas. OSD menus can be displayed on those unused black areas.
1. Auto: Scales an image proportionally to fit the
projector's native resolution in its horizontal
width. This is suitable for the incoming image
which is neither in 4:3 nor 16:9 and you want to
make most use of the screen without altering the
image's aspect ratio.
2. 4:3: Scales an image so that it is displayed in the
center of the screen with a 4:3 aspect ratio. This
is most suitable for 4:3 images like computer
monitors, standard definition TV and 4:3 aspect
DVD movies, as it displays them without aspect
alteration.
3. 16:9: Scales an image so that it is displayed in
the center of the screen with a 16:9 aspect ratio.
This is most suitable for images which are
already in a 16:9 aspect, like high definition TV,
as it displays them without aspect alteration.
4. 16:10 (PJD7400w only):
Scales an image so that
it is displayed in the center of the screen with a
16:10 aspect ratio. This is most suitable for images
which are already in a 16:10 aspect, as it displays
them without aspect alteration
16:10 picture
15:9 picture
4:3 picture
16:9 picture
16:10 picture
30










