Projector User Manual

Controls and functions
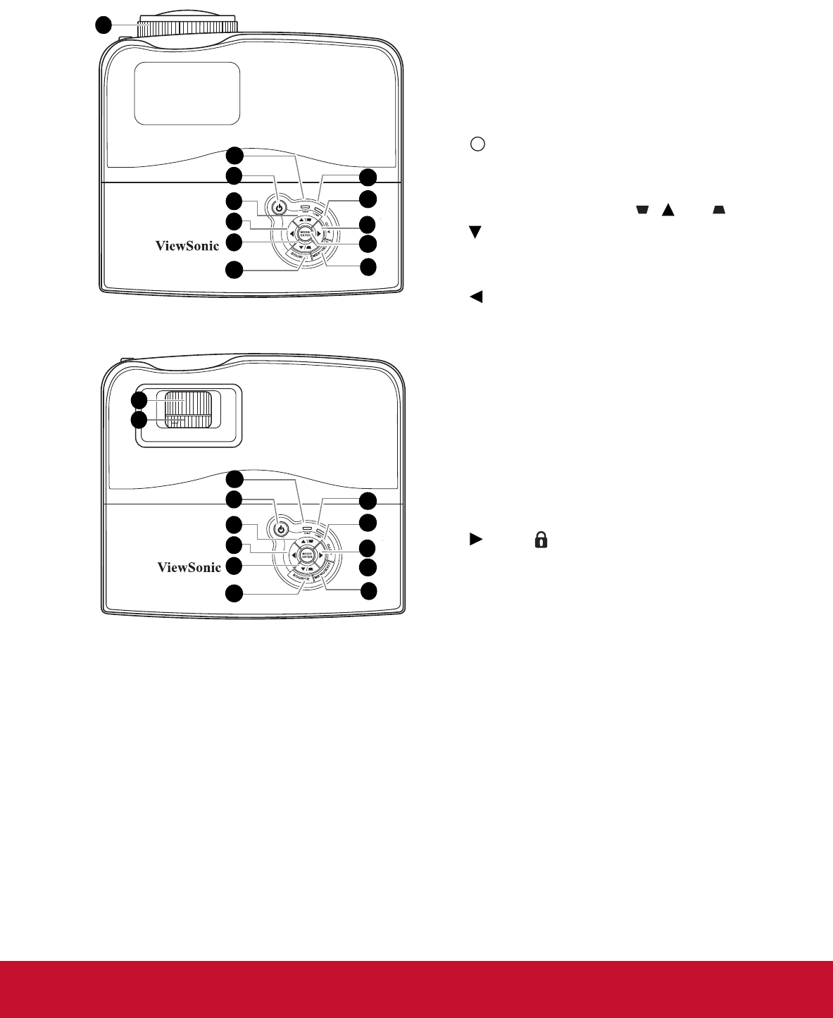
Projector
3. TEMPerature indicator light
Lights up red if the projector's
temperature becomes too high.
4. POWER indicator light
Lights up or flashes when the projector is
under operation.
POWER
Toggles the projector between standby
mode and on.
5. Keystone/Arrow keys ( / Up, /
Down)
6. Manually corrects distorted images
resulting from an angled projection.
7. Left/Blank
Hides the screen picture.
8. SOURCE
Displays the source selection bar.
9. LAMP indicator light
Indicates the status of the lamp. Lights up
or flashes when the lamp has developed a
problem.
10. AUTO
Automatically determines the best picture
timings for the displayed image.
11. Right/
Activates panel key lock.
When the On-Screen Display (OSD)
menu is activated, the #5, #7, and #11
keys are used as directional arrows to
select the desired menu items and to make
adjustments.
12. MENU/EXIT
Turns on the On-Screen Display (OSD)
menu. Goes back to previous OSD menu,
exits and saves menu settings.
13. MODE/ENTER
Selects an available picture setup mode.
Enacts the selected On-Screen Display
(OSD) menu item.
1. Focus ring
Adjusts the focus of the projected image.
2. Zoom ring
Adjusts the size of the image.
PJD7382
PJD7400/PJD7400w
1
10
11
9
12
13
8
3
4
7
5
5
10
11
9
12
8
3
4
7
5
5
13
1
2
I
I
7










