User manual

Care & Cleaning
WARNING: Always observe the following safety precautions, to prevent bodily injury and to assure that your
Grill will operate properly :
CAUTION: Always allow sufficient time for the Grill to cool fully before handling or cleaning any of its parts.
BURNERS:
NOTE: All of the burners should be inspected
frequently and cleaned as often as is necessary.
• Main Burner
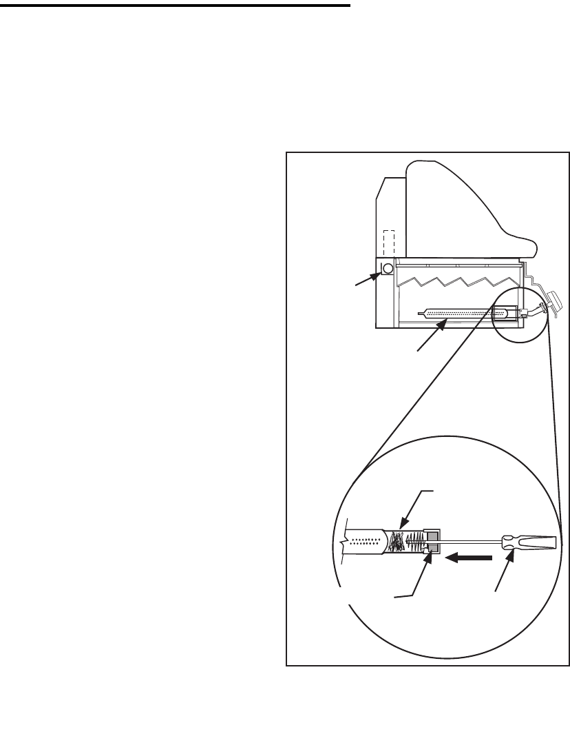
WARNING: Always inspect the air shutter screen
periodically to confirm that it is clear of food residue,
spider webs or other insect debris. A clogged venturi
tube can cause a fire to occur beneath the Grill, due
to a flashback of gas (see Fig. 16).
NOTE: Remove the cooking Grills and the sear plates
to inspect the burner at least once per year, or more
frequently if required.
•
Loosen the burner attachment screws (from
inside) to allow the burners to be pulled away from
the valves far enough for a venturi brush or suitable
cleaning device to be inserted into the burner
venturi to clean away debris (see Fig. 16). Be
careful not to damage the electrode ceramics.
•
Reinstall the burners properly over the valves
(see Fig. 22). Use a wire brush or toothpick to
clean the ports all around the sides of the burner
(see Fig. 18). It is normal for some surface rust
to appear on the burner. Severe rusting can enlarge
the gas ports, however, which could cause changes
in the Grill’s performance.
Care & Maintenance
Fig. 16
Page 19
Rotisserie
Burner
Oven
Burner
Spider web
and debris
Shutter screen
Venturi brush










