Installation manual

www.fmiproducts.com
126336-01A 19
INSTALLATION
Continued
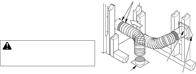
OPTIONAL OUTSIDE AIR KIT
(MODEL AK4/AK4F)
Installation of outside air kit should be per-
formed during rough framing of î‚¿replace due
to the nature of it's location. Outside combus-
tion air is accessed through a vented crawl
space (AK4F) or through a sidewall (AK4).
See Figure 22.
CAUTION: Combustion air
inlet ducts shall not terminate
in attic space.
Figure 22 - Outside Air Kit
Secure to Collars with Metal Tape, Screws
or Straps (Min. of 1/4" x 20" in size)
Air Inlet
Location
Must Allow
For Bushes
or Snow
Vent Hood
Required for
Wall Installation
Air Inlet
Eyebrow
Vented Crawl Space
(Check Local Codes
Before Installing in a
Vented Crawl Space)










