Installation Manual User Manual
Table Of Contents
- 1 Site Planning
- 2 Tools Required for Installation
- 3 Mechanical Installation
- 4 Electrical Installation
- 5 Startup / Programming

WASH SELECT II
Document Number: WS21001 22
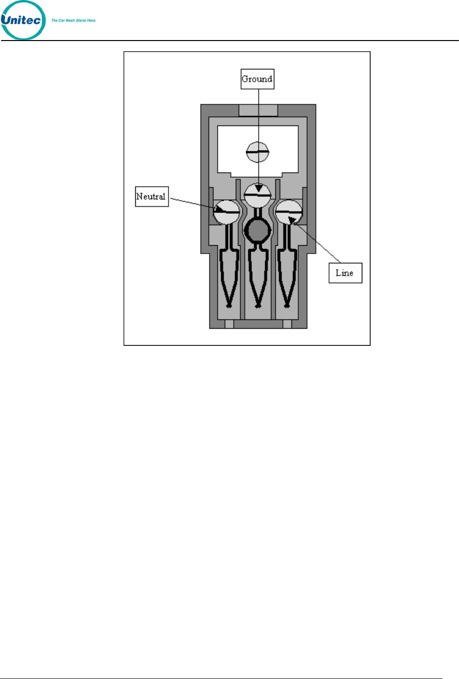
Figure 14. Line - Neutral - Ground Connections
5.
When all of the wires have been attached, pull the rubber insulation cover up to
the housing, and insert it into its original location. The three wires should be
trimmed back to a length small enough to allow for a tiny portion of the main cable
insulation to protrude into the case, without affecting the ease with which the top
and bottom pieces could be closed. Screw the stabilizer plate back into its original
position.
6. Re-assemble the AC connector and insert it into the connector located on the
lower right-hand corner of the Wash Select II power supply. Use any available
wire ties to route and secure any extra cable along the lower right inside wall
(follow the harness).
4.7 Wiring the Intercom
If your unit has the intercom option installed, ensure the Help button wiring from the speaker
to the intercom board and the power connection to the J10 connection on the CPU board are
in place.
Document Title: Wash Select II POS Installation Manual










