Full Product Manual
Manuals
Brands
Unbranded Manuals
Automotive
Heavy-Duty 2-Post Lift 15,000 lbs.
17
18
19
20
21
22
23
24
25
26
21
TP15KCX
Feb 2017
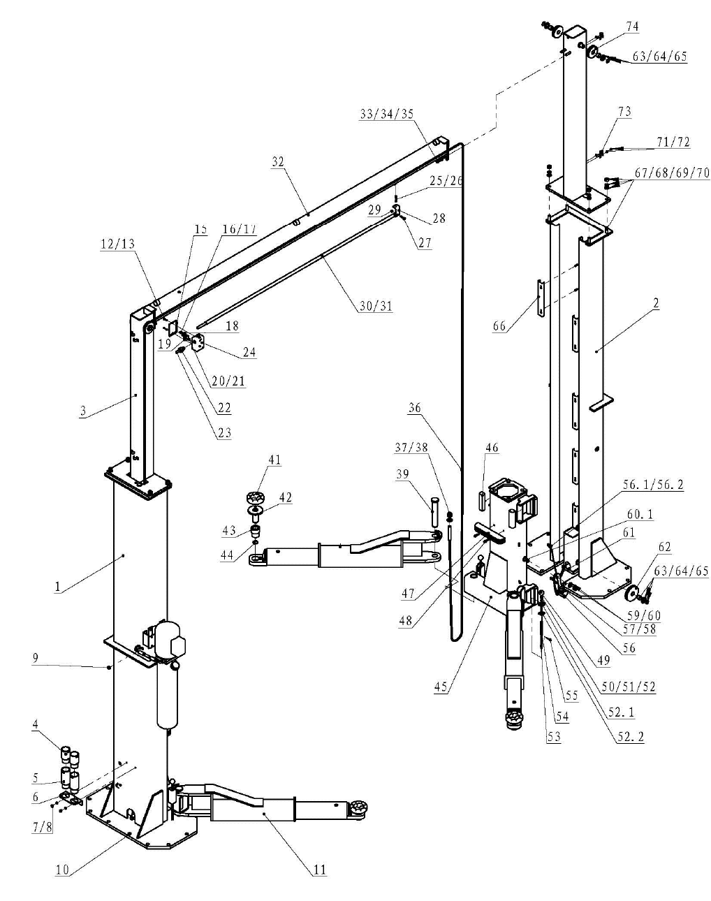
EXPLODED VIEW #1
1
...
...
19
20
21
22
23
...
...
26