installation guide

69
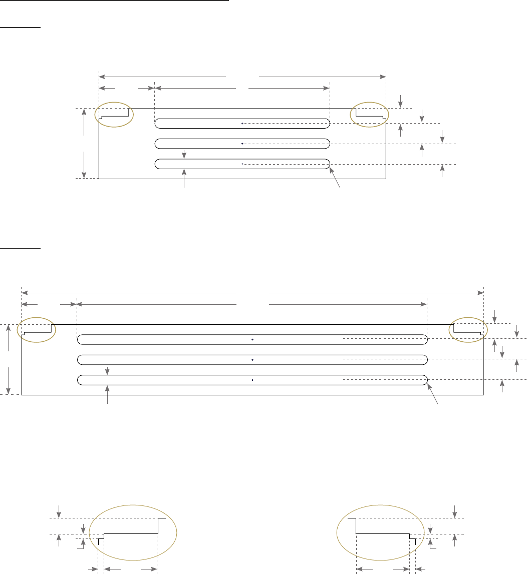
15 INCH & 24 INCH INSTALL GUIDE
CUSTOM WOOD LOUVER TEMPLATE
15 INCH
Detail A Detail B
14
3/4
"
3
5/8
"
1
1/32
"
1
1/32
"
R1/4" (6 PLCS.)
R1/4" (6 PLCS.)
1/2" (3 PLCS.)
1/2" (3 PLCS.)
25/32
"
9"2
7/8
"
SCALE 2:3
Notch here for a
left hinged unit
DETAIL A DETAIL B
1
3/8
"
13/32
"
5/32
"
1/8
"
SCALE 2:3
Notch here for a
right hinged unit
1
3/8
"
13/32
"
5/32
"
1/8
"
24 INCH
23
3/4
"
3
5/8
"
Detail A Detail B
1
1/32
"
1
1/32
"
25/32
"
18"2
7/8
"










