User manual

11
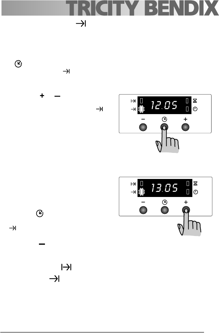
“End of cooking” function
With this function, you can set the oven to switch off
automatically when a programmed end of cooking
time is over. Place food in the oven, select a cooking
function and adjust the cooking temperature. Press
button repeatedly to select the “End of cooking”
function. The relevant pilot lamp will start flashing.
Then, proceed as follows:
To set the End of cooking time:
1. Press button “ ” or “ ”.
2. After the setting is carried out, wait for 5
seconds: the “End of cooking” pilot lamp
will come on and the display will revert to the
time of day.
3. When cooking time is over, the oven will be
switched off automatically and an acoustic alarm
will be heard, and the pilot lamp will start
flashing. Turn the oven function and the
thermostat control knob to zero.
To switch off the acoustic alarm, press any
button. NOTE: turning the acoustic alarm off
will reset the oven to manual, and if the oven
function and the thermostat knobs are not set
to zero the oven will start to heat again.
To cancel the End of cooking time:
1. Press button repeatedly to select the “End
of cooking” function. The relevant pilot lamp
will flash and the display will show the
programmed End of cooking time.
2. Press button “ ” until the display shows the
current time of day. The programmer will beep
and the pilot lamp will go out.
“Cooking duration” and “End
of cooking time” combined
The functions “Cooking duration” and “End of
cooking time” can be used simultaneously to set the
oven to switch on and off automatically at a later time.










