Operation Manual
Table Of Contents
- Safety Summary
- OPERATOR’S GUIDE
- TO OUR CUSTOMERS
- ACCESSORIES
- APPEARANCE AND NOMENCLATURE
- MODE LOCK AND MODE SELECTOR KEYS
- DISPLAY
- OUTLINE OF PREPARATION PROCEDURE BEFORE
- CASHIER SIGNING OR CASHIER KEY OPERATIONS
- KEYBOARD LAYOUT
- FUNCTIONS OF EACH KEY
- DAILY OPERATION FLOW
- REGISTERING PROCEDURE AND PRINT FORMAT
- No-Sale
- Department Entry
- PLU Entry (Manual PLU Code Entry)
- PLU Price Shift Entry
- Repeat Entry
- Quantity Extension (Multiplication) for DEPTs/PLUs
- Single-Item Department or Single-Item PLU Entry
- Returned Merchandise
- Amount Discount
- Percent Discount, Percent Charge
- Store Coupon
- Vendor Coupon
- Item Correct
- Void
- All Void
- Non-Add Number Print
- Listing Capacity Open
- Tax Status Modification
- Subtotal (Sale Total Pre-taxed) Read
- VAT Calculation and Print (VAT = Value Added Tax)
- VAT Print
- Add-on Tax Calculation and Print
- Tax Exemption (for Add-on Tax Feature)
- VAT Exemption (for VAT Feature)
- Finalizing a Sale
- Multi-Tendering
- Split Tendering
- Cheque Cashing (No-sale cashing of a non-cash media)
- Special Rounding
- Denmark Rounding
- Sale Paid in Foreign Currencies
- No-Sale Exchange from Foreign Currency to Domestic Currency
- No-Sale Exchange from Domestic Currency to Foreign Currency
- Paid-Out
- Received-on-Account
- Salesperson Entry (Salesperson Sign-ON)
- Receipt-Issue/Non-Issue Selection
- Receipt Post-Issue
- Charge Posting: Previous Balance Manual Entry Type
- Journal Print (Thailand Specification)
- VAT Total Display
- Consignment Print
- Validation Print
- Remote Slip Printer (hardware option) Operation
- When a Power Failure Occurs...
- JOURNAL AND RECEIPT PAPER-END DETECTOR
- PRINTER HEAD OPEN DETECTOR
- REMOTE SLIP PRINTER MOTOR LOCK DETECTOR
- GENERAL MAINTENANCE
- SPECIFICATIONS
- MANAGER’S GUIDE
- OPERATIONS IN “MGR” MODE
- OPERATIONS IN “ - ” MODE
- READ (X) AND RESET (Z) REPORTS
- PROGRAMMING OPERATIONS
- Instructions for Programming
- Character Entries
- Condition Required for Programming Operations
- SET Mode Menu
- Time Setting or Adjustment
- Date Setting or Adjustment
- Commercial Message Programming
- Footer Message Programming
- Store Name Message Programming
- Cashier Name and Status Programming
- Department Name Programming
- Department Group Name Programming
- PLU Name Programming
- Salesperson Name Programming
- Department Table Programming
- PLU Table Programming
- Department Preset Price Setting or Changing
- PLU Preset Price Setting or Changing
- %+ and %- Preset Rate Setting
- Foreign Currency Exchange Rate Setting
- VERIFICATION OF PROGRAMMED DATA

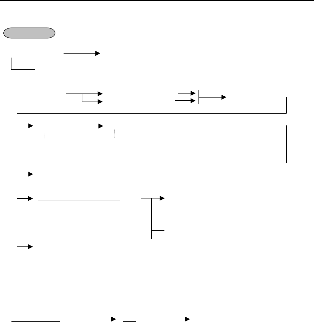
11. REGISTERING PROCEDURE AND PRINT FORMAT EO1-11154
11.39 Charge Posting: Previous Balance Manual Entry Type
11-25
11.39 Charge Posting: Previous Balance Manual Entry Type
(1) To initiate charge posting for a new customer
0 [PB+] (or [PB-]) Follow the line marked with “*” in Operation 2 below.
zero
(2) Charge posting with a previous balance first entered (pre-select) with or without PAYMENT
|Previous Balance
| [PB+] (for credit balance) * Sale item
[PB-] (for debit balance) entries, if any.
([ST]) [CRT]
[TRF] ......... to transfer all the balance as a new balance (i.e. no payment for this occasion).
The prior [CRT] key may be omitted in this case.
|Amount Paid for this occasion
| [R/A] Media Key operations
(Same as media key operations for RECEIVED-ON
-ACCOUNT payment finalization already described.)
Repeatable if necessary.
[PO] ........... when the balance is negative (debit balance) and must be paid back to the customer in
cash now.
(3) Charge posting with a previous balance entered during a sale (post-select)
A previous balance (including a zero balance for a new customer) may be entered not only before sale items
but also after or between them if the [CRT] key has not been depressed. Multiple previous balance entries
are possible within a sale (for the purpose to sum up multiple accounts into one, etc.).
(4) Percent rate addition to a previous balance
|Previous Balance
| [PB+] (|Rate|) [%+] - - -
NOTES: 1. The [%-] key operates the same for percent discounting.
2. The previous balance entered through [PB-] (debit balance) will not allow %+ or %- operation.
OPERATION
Displays the sale total
excluding the previous
balance.
Finalizes the current sale,
displays the entire sale total
including the previous balance.
(The amount to be paid, partially or
entirely, for this occasion.
A
n excessive amount may be entered,
in which case a debit balance will
result.)










