Operator's Manual

g278776
Figuur20
1.Cabinekabelboom
3.Zwarteaardingsdraadmet
kabelschoen
2.Zwarteaardingsdraad
metringaansluiting(niet
gebruikt)
4.Rodestroomdraadmet
kabelschoen
7.Verbinddeovergeblevendraadmetde
gezekerdedraadvandenieuwezekeringhouder
(Figuur17).
8.Laatdelaadbakzakkenensluitdeaccuaan;
raadpleegdeGebruikershandleiding.
9.Monteerdevoetvandestoeldieueerder
verwijderdhebt.
Voorbenzinemodellenof
EFI-modellen
1.Monteerdenieuwezekeringhouderalsvolgt:
•Voormachinesmetserienr.403448001en
lager:drukdenieuwezekeringhouderopde
bestaandezekeringhouderopdemachine
(Figuur17).
•Voormachinesmetserienr.403448001en
hoger:bevestigdenieuwezekeringhouder
metde2zelftappendeschroevenzoals
getoondinFiguur21.
g290831
Figuur21
1.Zelftappendeschroef
2.Nieuwezekeringenhouder
2.Verbinddegroteaansluitingvandenieuwe
zekeringhoudermetdeoptionelestroomkabel
vandeoudezekeringhouder(Figuur17).
3.Leiddekabelboomachterdecabineenonder
destoel,enbevestigdeklemvandekabelboom
aanhetzijpaneel(Figuur19).
4.Verbindhetzwarteringcontactmethet
aardingsblokvandemachine(Figuur22).
5.Koppelderodestroomdraadaanopeenvrije
sleufindezekeringhoudervandemachine
(Figuur22).
Opmerking:Monteereenbijkomende
zekeringhouderalsergeenvrijesleuvenmeer
zijnindezekeringhouder.
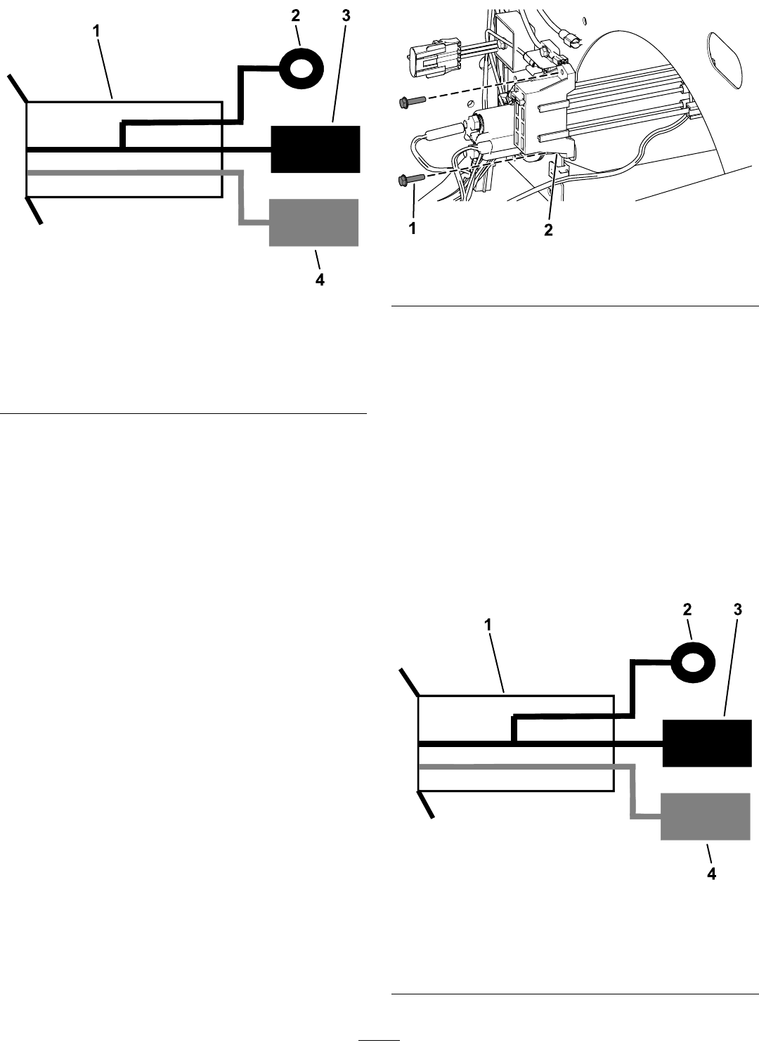
g278776
Figuur22
1.Cabinekabelboom
3.Zwarteaardingsdraadmet
kabelschoen
2.Zwarteaardingsdraadmet
ringaansluiting
4.Rodestroomdraadmet
kabelschoen
13