Operator's Manual

ChassisMaintenance
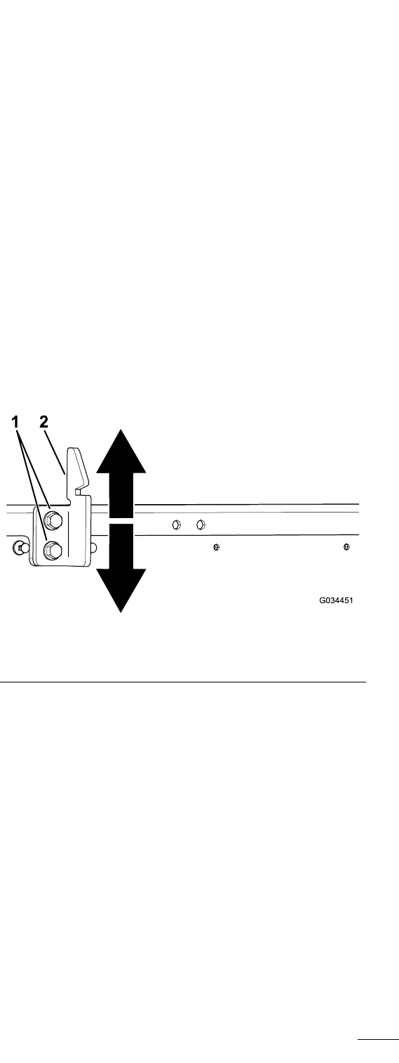
AdjustingtheCargo-Box
Latches
Ifthecargo-boxlatchisoutofadjustment,thecargo
boxvibratesupanddownasyoudrivethemachine.
Youcanadjustthelatchpoststomakethelatches
holdthecargoboxsnuglytothechassis.
1.Verifythatthecargoboxislatching.
Note:Ifthecargoboxdoesnotlatch,the
box-latchstrikerislikelytoolow.Ifthecargobox
latches,butvibratesupanddownasyoudrive,
thebox-latchstrikerislikelytoohigh.
2.Raisethecargobox;RaisingtheCargoBoxto
theDumpPosition(page19).
3.Loosenthe2boltsonthebox-latchstrikerand
movethestrikerupordown,dependingonifthe
strikeristoohighortoolow(Figure52).
g034451
Figure52
1.Bolts2.Box-latchstriker
4.Tightenthe2boltsonthebox-latchstriker
(Figure52).
5.Verifythattheadjustmentiscorrectbylatching
thecargoboxseveraltimes.
Cleaning
WashingtheMachine
Washthemachineasneeded.Usewateraloneor
withamilddetergent.Youmayusearagwhen
washingthemachine;however,thehoodwilllose
someofitsluster.
Important:Pressurizedwaterisnot
recommendedwhenwashingthemachine.Itmay
damagetheelectricalsystem,loosenimportant
decals,orwashawaynecessarygreaseatfriction
points.Avoidexcessiveuseofwater,especially
nearthecontrolpanel,motor,motorcontroller,
charger,backofthedashboard,andbatteries.
47