Operator's Manual

Vedligeholdelseaf
chassiset
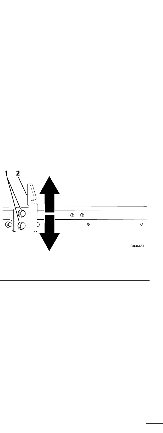
Justeringafladetslåse
Hvisladetslåseikkeerjusteretkorrekt,vibrererladet
opogned,nårdukørermedmaskinen.Dukan
justerelåsestifterne,sålåsenefastgørladetstramt
tilchassiset.
1.Kontroller,atladetlåser.
Bemærk:Hvisladetikkelåser,erladets
låsestykkesikkertforlavt.Hvisladetlåser,
menvibrereropognedunderkørsel,erladets
låsestykkesikkertforhøjt.
2.Hævladet.SeHævningafladettil
aæsningspositionen(side18).
3.Løsndetoboltepåladetslåsestykke,og
ytlåsestykketopellerned,afhængigtafom
låsestykketerforhøjtellerforlavt(Figur52).
g034451
Figur52
1.Bolte
2.Ladetslåsestykke
4.Stramdetoboltepåladetslåsestykke(Figur
52).
5.Kontroller,atjusteringenerkorrektvedatlåse
ladeteregange.
Rengøring
Vaskafmaskinen
Vaskmaskinenefterbehov.Brugkunvandellervand
medenmildsæbeopløsning.Dukanbrugeenklud,
nårduvaskermaskinen,menmotorhjelmenvilmiste
nogetafsinglans.
Vigtigt:Vandundertrykanbefalesikketil
vaskafmaskinen.Detkanbeskadigedet
elektriskesystem,løsnevigtigemærkater
ellervaskenødvendigtsmørefedtvækfra
friktionssteder.Undgåoverdrevenbrugafvand,
særligtinærhedenafkontrolpanelet,motoren,
motorstyringen,laderenogpåinstrumentbrættets
bagsideogbatterierne.
42










