Operator's Manual

Mantenimientodel
chasis
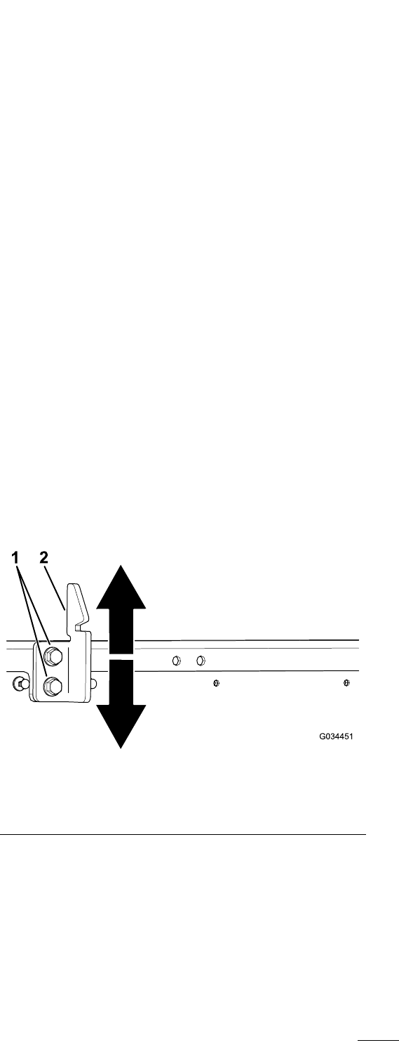
Ajustedelosenganchesde
laplataformadecarga
Sielenganchedelaplataformadecargaestámal
ajustado,laplataformadecargavibraráhaciaarribay
haciaabajoalconducirlamáquina.Puedeajustarlos
topesdelosenganchesparaasegurarelcierredela
plataformadecargaylograrunbuenajuste.
1.Veriquequelaplataformadecargaestá
aseguradaconloscierres.
Nota:Silaplataformadecarganosecierra
conseguridad,posiblementeelcerraderodel
cierreestádemasiadobajo.Silaplataformade
cargasecierra,perovibrahaciaarribayhacia
abajoalconducir,elcerraderodelcierreestá
demasiadoalto.
2.Elevelaplataformadecarga;Elevacióndela
plataformadecargaalaposicióndevolcado
(página22).
3.Aojelos2pernosenelcerraderodelcierrede
laplataformaydesplácelohaciaarribaohacia
abajo,enfuncióndesiestádemasiadoaltoo
bajo(Figura68).
g034451
Figura68
1.Pernos
2.Cerraderodelcierredela
plataforma
4.Aprietelos2pernosdelcerraderodelcierrede
laplataforma(Figura68).
5.Veriquequeelajusteescorrectocerrandola
plataformadecargavariasveces.
Limpieza
Cómolavarlamáquina
Intervalodemantenimiento:Cadavezqueseutilice
odiariamente—Lavelamáquina.
Lavelamáquinacuantoseanecesariosoloconagua
oconundetergentesuave.Puedeutilizaruntrapo
paralavarlamáquina.
Importante:Noutiliceaguarecicladaosalada
paralimpiarlamáquina.
Importante:Noutiliceequiposdelavadoa
presiónparalavarlamáquina.Estosequipos
puedendañarelsistemaeléctrico,hacerquese
desprendanpegatinasimportantes,oeliminar
grasanecesariaenlospuntosdefricción.Eviteel
usoexcesivodeaguacercadelpaneldecontrol,
elmotorylabatería.
Importante:Nolavelamáquinaconelmotoren
marcha.Siselavelamáquinaconelmotoren
marcha,puedenproducirsedañosinternosenel
motor.
56










