Operator's Manual

Viðhaldundirvagns
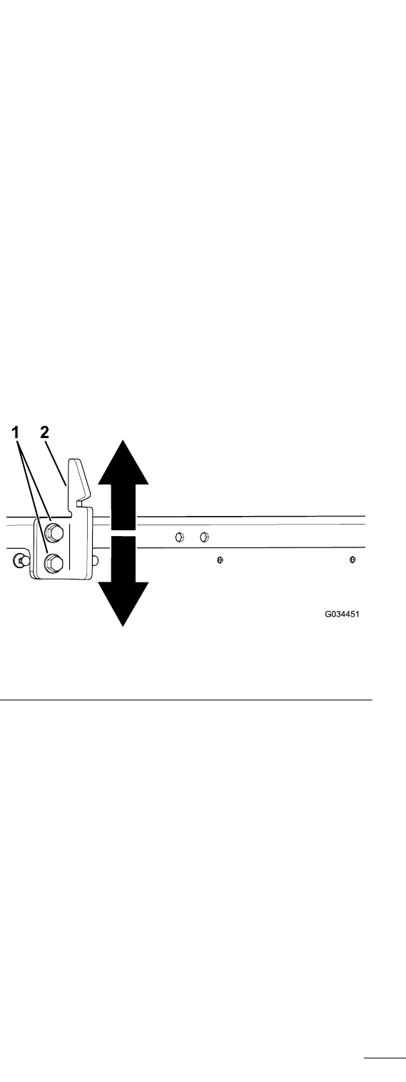
Stillingáklinkumpallsins
Efklinkanápallinumervanstillthrististpallurinnupp
ogniðurþegarvinnubílnumerekið.Hægteraðstilla
klinkustoðirnartilaðklinkurnarhaldipallinumþéttað
undirvagninum.
1.Gangiðúrskuggaumaðpallurinnlæsist.
Ath.:Líklegaerslagpinninnáklinkupallsinsof
lágtniðriefpallurinnlæsistekki.Þegarpallurinn
læsistenhrististuppogniðurþegarvinnubílnum
erekiðerslagpinninnáklinkupallsinslíklega
ofháttuppi.
2.Lyftiðpallinum,Pallinumlyftísturtustöðu(síða
19).
3.Losiðumboltanatvoáslagpinnaklinkupallsins
ogfæriðslagpinnannuppeðaniður,eftirþví
hvorthannvarofháttuppieðaoflágtniðri
(Mynd68).
g034451
Mynd68
1.Boltar
2.Slagpinniáklinkupallsins
4.Herðiðboltanatvoáslagpinnaklinkupallsins
(Mynd68).
5.Gangiðúrskuggaumaðstillinginsérrétt
meðþvíaðfestaklinkunaápallinumnokkrum
sinnum.
Þrif
Vinnubíllinnþrinn
Viðhaldstími:Fyrirhverjanotkuneðadaglega—Þríð
sláttuvélina.
Notiðeingönguvatneðamildhreinsiefnitilaðþrífa
vinnubílinneftirþörfum.Notamátuskutilaðþrífa
vinnubílinn.
Mikilvægt:Ekkinotaísaltvatneðahreinsaðvatn
tilaðþrífavinnubílinn.
Mikilvægt:Ekkinotaháþrýstibúnaðtilað
þrífavinnubílinn.Þvotturmeðháþrýstibúnaði
geturskemmtrafkerð,losaðummikilvægar
merkingareðaskolaðíburtumikilvægrismurfeiti
afnúningsstöðum.Forðistmiklanotkunvatns,
sérstakleganærristjórnborðinu,vélinniog
rafgeyminum.
Mikilvægt:Þríðekkivinnubílinnmeðvélinaí
gangi.Þrifávinnubílnumþegarvélinerígangi
geturvaldiðskemmdumáinnrivélaríhlutum.
53