Operator's Manual

ChassisMaintenance
AdjustingtheCargo-Bed
Latches
Ifthecargo-bedlatchisoutofadjustment,thecargo
bedvibratesupanddownasyoudrivethemachine.
Youcanadjustthelatchpoststomakethelatches
holdthecargobedsnuglytothechassis.
1.Verifythatthecargobedislatching.
Note:Ifthecargobeddoesnotlatch,the
bed-latchstrikerislikelytoolow.Ifthecargo
bedlatches,butvibratesupanddownasyou
drive,thebed-latchstrikerislikelytoohigh.
2.Raisethecargobed;RaisingtheCargoBedto
theDumpPosition(page19).
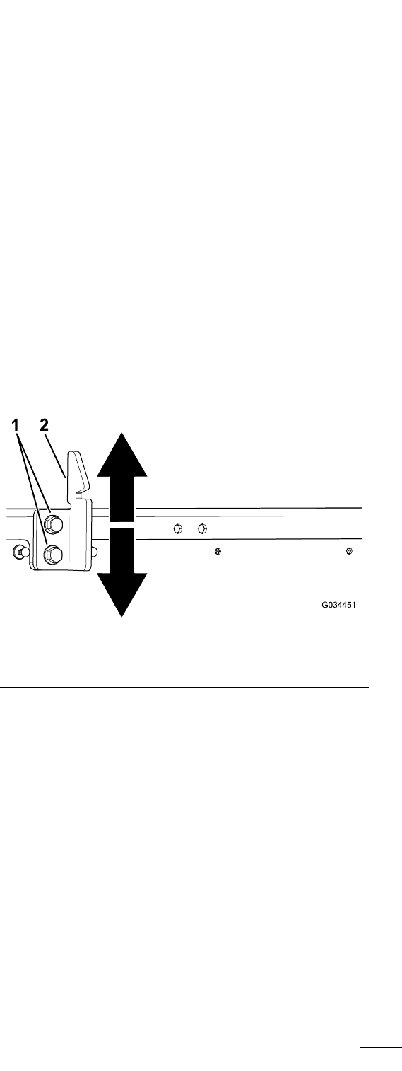
3.Loosenthe2boltsonthebed-latchstrikerand
movethestrikerupordown,dependingonifthe
strikeristoohighortoolow(Figure55).
g034451
Figure55
1.Bolts2.Bed-latchstriker
4.Tightenthe2boltsonthebed-latchstriker
(Figure55).
5.Verifythattheadjustmentiscorrectbylatching
thecargobedseveraltimes.
Cleaning
WashingtheMachine
Washthemachineasneeded.Usewateraloneor
withamilddetergent.Youmayusearagwhen
washingthemachine;however,thehoodwilllose
someofitsluster.
Important:Pressurizedwaterisnot
recommendedwhenwashingthemachine.Itmay
damagetheelectricalsystem,loosenimportant
decals,orwashawaynecessarygreaseatfriction
points.Avoidexcessiveuseofwater,especially
nearthecontrolpanel,motor,motorcontroller,
charger,backofthedashboard,andbatteries.
45