Operator's Manual

シ シ
シ
ャ ャ
ャ
ー ー
ー
シ シ
シ
の の
の
保 保
保
守 守
守
荷 荷
荷
台 台
台
の の
の
ラ ラ
ラ
ッ ッ
ッ
チ チ
チ
の の
の
整 整
整
列 列
列
調 調
調
整 整
整
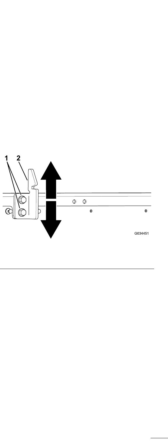
荷台のラッチが確実にはまらないと、走行するときに
荷台が上下に振動します。このような場合には、ラッ
チのポストを調節して、荷台がシャーシにきれいに収
まるようにしてください。
1.荷台にラッチが掛かっていることを確認する。
注 注
注
ラッチが掛かっていない原因の多くは、荷台
のラッチストライカの位置が低すぎるためです。
ラッチが掛かるが運転中に荷台が上下にガタつく
場合は、ラッチストライカの位置が高すぎます。
2.荷台を上げる荷台をダンプ位置まで上げるに
は(ページ17)。
3.荷台のラッチストライカのボルト2本をゆるめて、
ストライカの上下位置を調整する図56。
g034451
図 図
図
56
1.ボルト
2.荷台のラッチストライカ
4.ラッチストライカのボルト2本を締め付ける図56。
5.荷台を数回操作して、ラッチが適正に掛かること
を確認する。
洗 洗
洗
浄 浄
浄
車 車
車
体 体
体
を を
を
清 清
清
掃 掃
掃
す す
す
る る
る
必要に応じてマシンを洗浄する。水または水と洗剤で
洗浄します。ウェスを使えますが、フードの表面のツ
ヤがなくなる場合があります。
重 重
重
要 要
要
圧 圧
圧
力 力
力
洗 洗
洗
浄 浄
浄
機 機
機
を を
を
使 使
使
っ っ
っ
て て
て
の の
の
清 清
清
掃 掃
掃
は は
は
避 避
避
け け
け
て て
て
く く
く
だ だ
だ
さ さ
さ
い い
い
。 。
。
電 電
電
装 装
装
部 部
部
や や
や
潤 潤
潤
滑 滑
滑
部 部
部
に に
に
水 水
水
が が
が
浸 浸
浸
入 入
入
す す
す
る る
る
と と
と
、 、
、
問 問
問
題 題
題
が が
が
起 起
起
こ こ
こ
り り
り
や や
や
す す
す
く く
く
な な
な
り り
り
ま ま
ま
す す
す
。 。
。
コ コ
コ
ン ン
ン
ト ト
ト
ロ ロ
ロ
ー ー
ー
ル ル
ル
パ パ
パ
ネ ネ
ネ
ル ル
ル
や や
や
、 、
、
モ モ
モ
ー ー
ー
タ タ
タ
、 、
、
モ モ
モ
ー ー
ー
タ タ
タ
の の
の
コ コ
コ
ン ン
ン
ト ト
ト
ロ ロ
ロ
ー ー
ー
ラ ラ
ラ
、 、
、
チ チ
チ
ャ ャ
ャ
ー ー
ー
ジ ジ
ジ
ャ ャ
ャ
、 、
、
ダ ダ
ダ
ッ ッ
ッ
シ シ
シ
ュ ュ
ュ
ボ ボ
ボ
ー ー
ー
ド ド
ド
の の
の
裏 裏
裏
側 側
側
に に
に
大 大
大
量 量
量
の の
の
水 水
水
を を
を
か か
か
け け
け
な な
な
い い
い
よ よ
よ
う う
う
に に
に
し し
し
て て
て
く く
く
だ だ
だ
さ さ
さ
い い
い
。 。
。
42










