Operator's Manual

Vedlikeholdechassis
Justerelastekassenslåser
Hvislastekasselåsenikkeerjustert,vibrerer
lastekassenoppognednårdukjører.Dukanjustere
låseposteneslikatsperreneholderlastekassen
stramtmotchassiset.
1.Kontrolleratlastekassenerlåserseg.
Merk:Hvislastekassenikkelåses,er
kassenslåsesperresannsynligvisforlav.Hvis
lastekassenlåses,menvibrereroppognednår
dukjører,erkassenslåsesperresannsynligvis
forhøy.
2.Hevlastekassen;Hevelastekassentil
tømmeposisjon(side18).
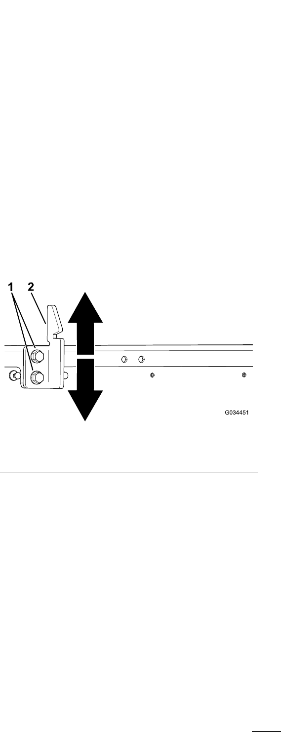
3.Løsnedetoboltenepåkassenslåsesperre
ogyttsperrenoppellerned,avhengigavom
sperrenerforhøyellerforlav(Figur53).
g034451
Figur53
1.Skruer
2.Kassenslåsesperre
4.Stramdetoboltenepåkassenslåsesperrer
(Figur53).
5.Kontrolleratjusteringenerkorrektvedålåse
lastekassenereganger.
Rengjøring
Vaskemaskinen
Vaskmaskinenetterbehov.Brukbarevannelleret
mildtrengjøringsmiddel.Dukanbrukeenklutnår
duvaskermaskinen,menpanseretvilmistelittav
glansen.
Viktig:Vianbefaleratduikkehøytrykksspyler
maskinen.Detkanskadedetelektriskesystemet,
løsneviktigemerkerogvaskebortnødvendig
fettfrafriksjonspunktene.Unngåoverdreven
brukavvann,spesieltnærkontrollpanelet,
motoren,motorkontrolleren,laderen,baksidenav
dashbordetogbatteriene.
42










