Operator's Manual

Vedligeholdelseaf
chassiset
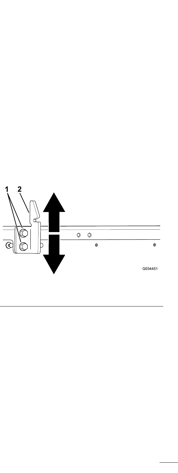
Justeringafladetslåse
Hvisladetslåseikkeerjusteretkorrekt,vibrerer
ladetopogned,nårdukørermaskinen.Dukan
justerelåsestifterne,sålåsenefastgørladetstramt
tilchassiset.
1.Kontroller,atladetlåser.
Bemærk:Hvisladetikkelåser,erladets
låsestykkesandsynligvisforlavt.Hvisladet
låser,menvibrereropognedunderkørsel,er
ladetslåsestykkesandsynligvisforhøjt.
2.Hævladet.SeHævningafladettil
aæsningspositionen(side19).
3.Løsnde2boltepåladetslåsestykke,ogyt
låsestykketopellerned,afhængigtafom
låsestykketerforhøjtellerforlavt(Figur67).
g034451
Figur67
1.Bolte
2.Ladetslåsestykke
4.Stramde2boltepåladetslåsestykke(Figur67).
5.Kontroller,atjusteringenerkorrektvedatlåse
ladeteregange.
Rengøring
Vaskafmaskinen
Maskinenskalvaskesefterbehov.Brugkunvand
ellervandmedenmildsæbeopløsning.Dukanbruge
enkludtilvaskafmaskinen.
Vigtigt:Brugikkevaskeudstyrmedhøjttryktilat
vaskemaskinen.Vaskeudstyrmedhøjttrykkan
beskadigedetelektriskesystem,løsnevigtige
mærkaterellerfjernenødvendigtsmørefedtfra
friktionssteder.Undgåoverdreventbrugafvandi
nærhedenafkontrolpanelet,motorenogbatteriet.
Vigtigt:Undladatvaskemaskinen,mensmotoren
kører.Hvismaskinenvaskes,mensmotoren
kører,kandetmedføreinternmotorskade.
51










