Manual

Nomenclature
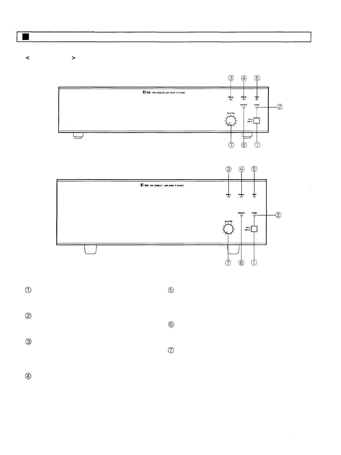
Front Panel
P-906MK2, P-912MK2
P-924MK2
Power Switch
Applies  line  power.  Two-position  push  button
switch for on/off  modes.
Power  Indicator  LED
Green  LED  lights when  the  power is switched
"ON".
Signal Indicator LED
Green  LED  lights when  more than  -30 dB  signal
level is fed to the  inputs  by means of the  master
volume control.
Normal  Indicator LED
Yellow  LED  lights  when  fed  to  the  proper  signal
level.
Peak  Indicator  LED
Red  LED  lights  when  amplifier  approaches
clipping  level.  If  steady  lit,  the  input  level  control
should be turned down until the LED flashes.
Protection  Indicator LED
Remains  lit  for  about  5  seconds  after  power
switch is turned ON.
Master Volume Control
Adjust gain of input.
– 3 –










