User guide

PILOT SAVER (950-2061) INSTRUCTIONS
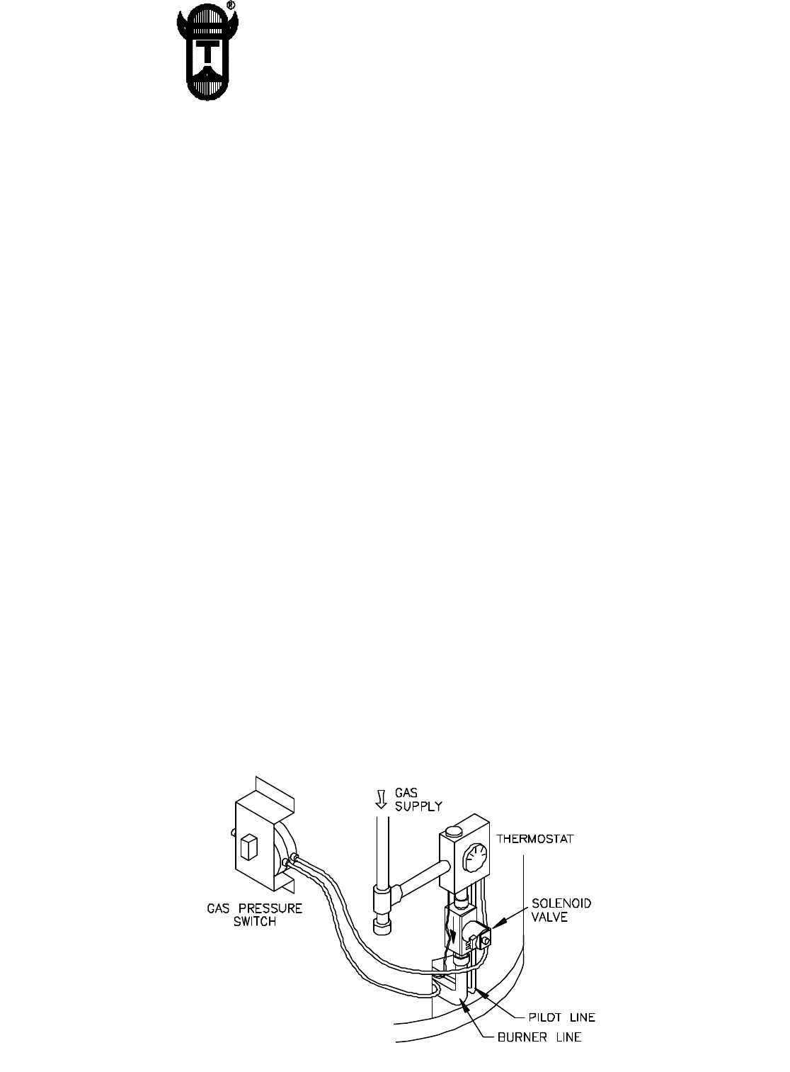
NEW VP-2/3, WHK-2 INSTALLATION
NOTES: 4 inches of STRAIGHT VERTICAL Burner line must be available between the gas valve (thermostat) and
the burner assembly for proper installation of Pilot Saver kit.
These instructions take the place of the Gas Solenoid Valve mounting instructions in VP-2/3
and WHK-2 manual. The 3/8” to 1/2” adapter fittings in Safety Controls Kit are not required.
TOOLS REQUIRED
Pipe Cutter
Adjustable Wrench
Pipe Thread Sealant
IMPORTANT: Shut off gas supply before attempting the following procedure.
Step 1. Remove the burner line, pilot line and thermocouple from gas valve (thermostat).
Step 2. Disconnect burner assembly from water heater with burner line still attached.
Step 3. Remove 3 inches of vertical burner line between flared end and burner assembly. Remove any burrs on
burner line tubing.
Step 4. Apply pipe thread sealant on 3/8” threaded stem on Compression Fittings.
Step 5. Screw 3/8” threaded stem on Compression Fittings into Solenoid. Tighten Compression Fittings with
wrench.
NOTE: Indicator Arrow on Solenoid must face the direction of gas flow to burner assembly.
Step 6. Insert burner line from gas valve (thermostat) into compression side of Compression Fitting. NOTE: Before
tightening compression fitting on burner line, make sure male end which screws into gas valve is orientated
properly and is between compression fitting and flared end of burner tubing. Tighten with wrench.
Step 7. Insert burner line from burner assembly into compression side of Compression Fitting. Tighten with wrench.
Step 8. Install burner assembly into water heater.
Step 9. Reconnect burner line, pilot line, and thermocouple to gas valve (thermostat).
NOTE: All gas piping shall be tested and inspected in accordance with NFPA 54, ANSI Z223.1, part 4.
This modification is acceptable per the American Gas Association (AGA) Report No: 916-1A.
INSTALLATION AFTER PILOT SAVER INSTALLED
P/N: 8504028
©1994 TJERNLUND PRODUCTS, INC. ALL RIGHTS RESERVED
REV. 2, 9/95
TJERNLUND PRODUCTS, INC.
1601 Ninth Street • White Bear Lake, MN 55110-6794
PHONE (800) 255-4208 • (651) 426-2993 • FAX (651) 426-9547
Visit our web site • www.tjernlund.com