User manual
Manuals
Brands
TIPTEL Manuals
Telephone Systems
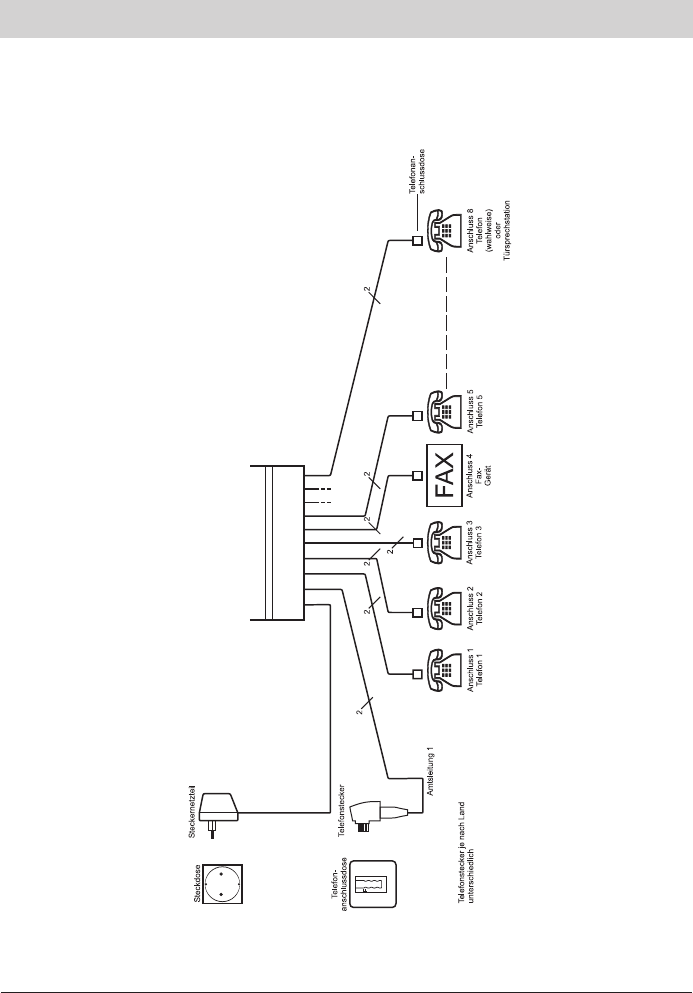
Analogue phoneline 1/8 Fax CLIP No. of FXO lines: 1 No. of extensions (FXS): 8
21
22
23
24
25
26
27
28
29
30
30
Fax-Funktion, Anschluss
1
...
...
28
29
30
31
32
...
...
72