Manual
Table Of Contents
- Couv-TSShandbrakeSparco+_num
- 01_Eng_TSS_Handbrake_Plus
- 02_Fra_TSS_Handbrake_Plus
- 03_Ger_TSS_Handbrake_Plus
- 04_Ned_TSS_Handbrake_Plus
- 05_Ita_TSS_Handbrake_Plus
- 06_Spa_TSS_Handbrake_Plus
- 07_Por_TSS_Handbrake_Plus
- 08_Por_Bra_TSS_Handbrake_Plus
- 09_Rus_TSS_Handbrake_Plus
- 10_Gre_TSS_Handbrake_Plus
- 11_Tur_TSS_Handbrake_Plus
- 12_Pol_TSS_Handbrake_Plus
- 13_JA_TSS_Handbrake_Plus
- 14_CNT_TSS_Handbrake_Plus
- 15_KO_TSS_Handbrake_Plus
- Ar_TSS_Handbrake_Plus

6/16
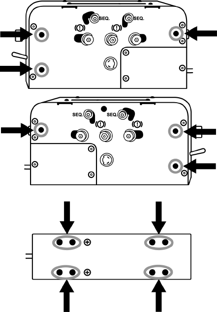
INSTALANDO O TSS HANDBRAKE
O TSS HANDBRAKE pode ser fixado em uma variedade de suportes compatíveis (vendidos
separadamente), usando os orifícios roscados M6 localizados em ambos os lados do dispositivo e
abaixo da base:
• 3 orifícios roscados localizados em cada lado da base.
• 8 orifícios roscados localizados abaixo da base.
O template para instalação do TSS HANDBRAKE no cockpit está disponível em
http://support.thrustmaster.com. Selecione Volantes / TSS HANDBRAKE, então Template - Cockpit
Setup.










