Installation Manual

Française 14
1. Enlevez le couvercle de la boîte de connexion qui
recouvre les fils (consultez la Figure 9 à la page 11).
2. Enlevez les entrées défonçables circulaires (Figure 9 à
la page 11).
3. Branchez la fiche de connexion Molex dans le
connecteur situé à l’intérieur de la hotte, comme illustré
sur la Figure 16.
4. Installez le tube protecteur de 1” (25.4 mm) dans la
boîte de connexion.
5. Faites passer les fils noir, blanc et vert (no 12 AWG)
dans le tube protecteur de 1” (25.4 mm), de la source
d’alimentation électrique à la boîte de connexion.
6. Branchez les fils de l’alimentation électrique aux fils de
la hotte dans l’ordre suivant : le noir avec le noir, le
blanc avec le blanc et le fil vert à la vis verte de mise à
la terre du bâti. Utilisez les capuchons de connexion à
ressort fournis.
• Tout capuchon de connexion manquant ou perdu
ne devrait être remplacé que par un capuchon de
connexion à ressort classé pour un minimum de
deux fils 18 GA et un maximum de quatre
fils 14 GA, coté UL et CSA pour 600 volts et 302°F
(150°C).
7. Refermez le couvercle de la boîte de connexion.
Câblage de la hotte avec un ventilateur à
distance
Selon la préférence et l'emplacement du conduit, ces
ventilateurs peuvent être montés sur le toit ou un mur
extérieur de la maison. Il peut être plus attrayant de
l'installer à l'extérieur pour réduire le bruit dans la cuisine.
1. Enlevez le couvercle de la boîte de connexion qui
recouvre les fils (consultez la Figure 9 à la page 11).
2. Enlevez les entrées défonçables circulaires (Figure 9 à
la page 11).
3. Installez les tubes protecteurs de 1” (25,4 mm).
4. Faites passer les fils noir, blanc et vert (no 12 AWG)
dans le tube protecteur de 1” (25,4 mm), de la source
d’alimentation électrique à la boîte de connexion.
5. Branchez les fils de l’alimentation électrique aux fils de
la hotte dans l’ordre suivant : le noir avec le noir, le
blanc avec le blanc, et le fil vert à la vis verte de mise à
la terre du bâti. Utilisez les capuchons de connexion à
ressort fournis.
• Tout capuchon de connexion manquant ou perdu
ne devrait être remplacé que par un capuchon de
connexion à ressort classé pour un minimum de
deux fils 18 GA et un maximum de quatre
fils 14 GA, coté UL et CSA pour 600 volts et 302 °F
(150 °C).
6. Branchez le connecteur en tire-bouchon au connecteur
situé à l’intérieur de la boîte de connexion.
7. Faites passer les cinq fils (no 14 AWG) dans le tube
protecteur de 1” (25,4 mm), du ventilateur à distance
au deuxième raccord de conduit.
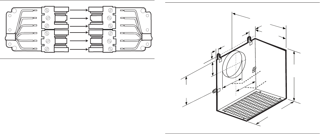
Figure 16 : Câblage de la hotte avec un ventilateur intégré
Du ventilateur
Du ventilateur
Du ventilateur
Du tableau de
commande
Du tableau de
commande
Du tableau de
commande
Toutes les mesures sont en pouces (mm).
Figure 17 : VTR1330 Ventilateur à distance
19
7/
8
"
(505)
2
1/
8
"
(54)
10 "
(254)
2
1/
8
"
(54)
20
3/
4
"
(527)
12
7/
8
"
(327)
12
1/
8
"
(308)
6
1/
2
"
(165)
1
7/
8
"
(48)
13
5/
8
"
(346)
dia. 9
7/
8
"
(251)










