Datasheet

10
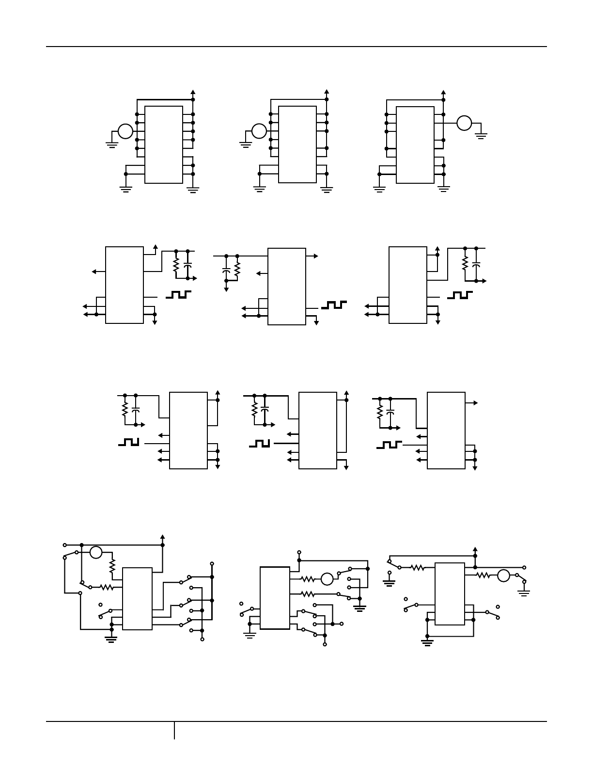
FIGURE 13. OFF CHANNEL LEAKAGE CURRENT - ALL CHANNELS OFF
FIGURE 14. PROPAGATION DELAY - ADDRESS INPUT TO SIGNAL OUTPUT
FIGURE 15. PROPAGATION DELAY - INHIBIT INPUT TO SIGNAL OUTPUT
FIGURE 16. INPUT VOLTAGE TEST CIRCUITS (NOISE IMMUNITY)
Test Circuits and Waveforms (Continued)
V
DD
1
2
3
4
5
6
7
8
16
15
14
13
12
11
10
9
CD4052
I
DD
V
DD
1
2
3
4
5
6
7
8
16
15
14
13
12
11
10
9
CD4051
I
DD
1
2
3
4
5
6
7
8
16
15
14
13
12
11
10
9
CD4053
I
DD
V
DD
V
DD
CD4051
V
DD
V
DD
V
DD
V
DD
V
DD
V
DD
V
DD
V
EE
V
EE
V
EE
V
EE
V
EE
V
EE
V
SS
V
SS
V
SS
V
SS
V
SS
V
SS
V
SS
V
SS
V
SS
CD4052
CD4053
CLOCK
IN
CLOCK
IN
CLOCK
IN
R
L
R
L
R
L
C
L
C
L
C
L
OUTPUT
OUTPUT
OUTPUT
1
2
3
4
5
6
7
8
16
15
14
13
12
11
10
9
1
2
3
4
5
6
7
8
16
15
14
13
12
11
10
9
1
2
3
4
5
6
7
8
16
15
14
13
12
11
10
9
V
DD
V
EE
t
PHL
AND t
PLH
V
SS
CLOCK
IN
R
L
OUTPUT
CD4051
1
2
3
4
5
6
7
8
16
15
14
13
12
11
10
9
CD4052
1
2
3
4
5
6
7
8
16
15
14
13
12
11
10
9
CD4053
1
2
3
4
5
6
7
8
16
15
14
13
12
11
10
9
V
DD
V
DD
V
DD
V
DD
V
DD
V
DD
V
DD
V
DD
OUTPUT
OUTPUT
t
PHL
AND t
PLH
t
PHL
AND t
PLH
R
L R
L
V
SS
CLOCK
IN
CLOCK
IN
V
SS
V
SS
V
EE
V
EE
50pF
50pF
V
EE
V
SS
V
SS
V
SS
V
SS
V
SS
V
EE
V
EE
50pF
CD4051B
V
IL
V
IH
V
DD
V
IH
V
IL
1K
1K
µA
MEASURE < 2µA ON ALL
“OFF” CHANNELS (e.g., CHANNEL 6)
1
2
3
4
5
6
7
89
10
11
12
13
14
15
16
µA
V
IL
V
IL
V
IH
V
IH
1K
1K
V
DD
MEASURE < 2µA ON ALL
“OFF” CHANNELS (e.g., CHANNEL by)
CD4053B
1
2
3
4
5
6
7
89
10
11
12
13
14
15
16
V
IH
V
IH
V
IL
1K
1K
V
DD
µA
MEASURE < 2µA ON ALL
“OFF” CHANNELS (e.g., CHANNEL 2x)
V
IL
CD4052B
1
2
3
4
5
6
7
89
10
11
12
13
14
15
16
CD4051B, CD4052B, CD4053B










