Instruction Manual

2-9
Percent Oxygen Analyzer Operational Theory 2
Teledyne Analytical Instruments
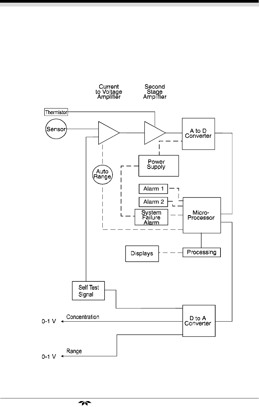
The signal processing electronics including the microprocessor, analog
to digital, and digital to analog converters are located on the motherboard at
the bottom of the case. The preamplifier board is mounted on top of the
motherboard as shown in the figure. These boards are accessible after re-
moving the back panel. Figure 2-7 is a block diagram of the Analyzer
electronics.
Figure 2-7: Block Diagram of the Model 3000P Electronics