User manual

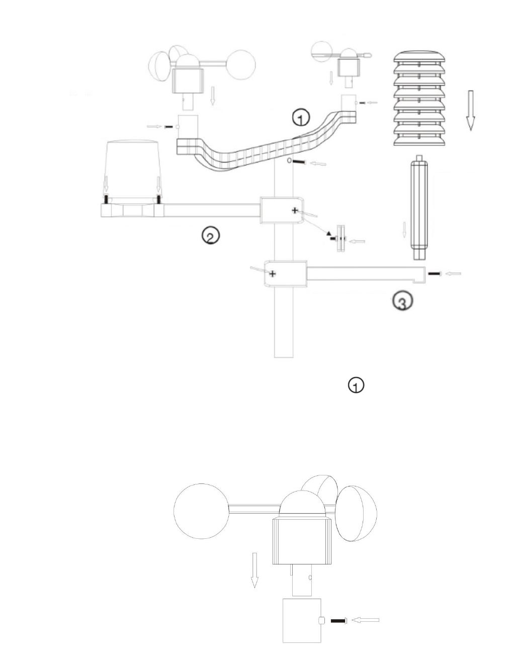
2) Montáž senzoru rychlosti větru do plastového držáku : před upevněním se
ujistěte, že se větrník může volně otáčet. Senzor rychlosti větru nyní namontujte na dodaný
držák, aby se mohl vítr pohybovat kolem senzoru neomezeně ze všech směrů. Následně
jej upevněte pomocí šroubu. Řiďte se níže uvedeným obrázkem:
Rychlost větru
Směr větru
Plastový držák
Plastový držák
Plastový držák
Srážkoměr
Thermo-
hygro
senzor










