Operation Manual

Training without a Program in P0
In the program display you selected training without a program, P0.
The following information will be available in seven different displays during cycling.
You can use the MODE and +/- keys to browse ahead through the displays.
With the -key, you can browse in reverse.
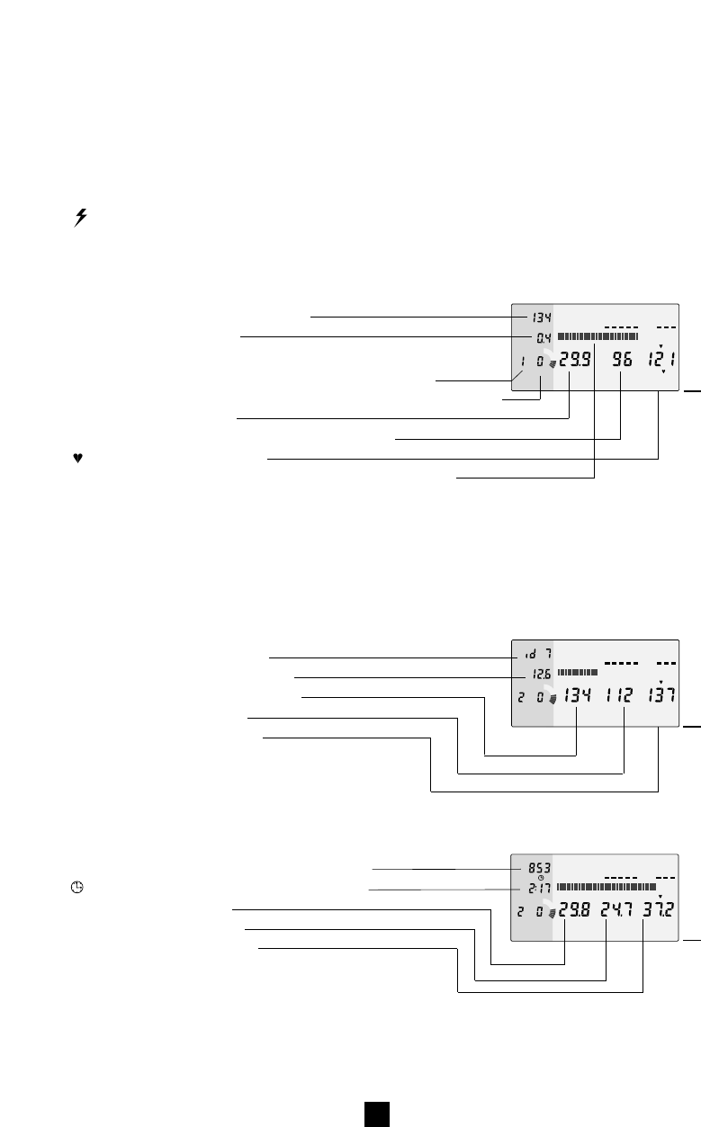
Combination Display (fig.18)
WATT actual power produced
Km/Mi trip distance
ROUTE P0 is subdivided into a maximum of 15 partial tracks
of equal distance (default setting: 1 Km/Mi)
SLOPE slope resistance and visual display of braking distance
SPD actual speed
CAD actual pedalling frequency (cadence)
actual pulse rate
PRESENT Visual display of your progress during training.
When you start cycling, a bar will appear that, as you continue to cycle,
will move from left to right across the display. Each time you start a new
ROUTE, a new PRESENT bar will appear.
Power Display (fig.19)
ID ID number (if set)
K use per trip in calories
WATT actual power produced
AVS average power
MAX maximum power
Speed Display (fig.20)
ODO total cumulative distance of all trips
stopwatch, cycling time during trip
SPD actual speed
AVS average speed
MAX maximum speed
22
GB
Training with Grand Excel
WATT
PRESENT
k
ROUTE
STOP
TRAINING
ROUTE SLOPE
MAX AVS
SPD
PRESENT
KM
ROUTE
STOP
TRAINING
ROUTE SLOPE
CAD
WAT T
SPD
PRESENT
KM
ROUTE
STOP
TRAINING
ROUTE SLOPE
MAX AVS
ODO
18
19
20










