Instructions

Biztonsági tudnivalók
Olvassa figyelmesen végig a használati útmutatót, és
különösen a biztonsági tudnivalókat vegye figyelembe
. Ha nem veszi figyelembe a jelen használati
útmutatóban ismertetett biztonsági tudnivalókat és
információkat, az ebből eredő
sérülésekért vagy dologi
károkért nem vállalunk felelősséget. Ezen kívül ilyen
esetekben érvényét veszíti a szavatosság/garancia is.
a) Általános tudnivalók
A készülék nem játék. Tartsa távol a készüléket gyermekektől és
háziállatoktól.
Ne hagyja a cs
omagolóanyagokat szanaszét heverni, mert a
kisgyerekek játékszernek tekinthetik, ami számukra veszélyes
Óvja a készüléket szélsőséges hőmérséklettől, közvetlen
napsütéstől, erős rázkódásoktól, magas páratartalomtól,
nedvességtől, éghető gázoktól, g
őzöktől és oldószerektől.
Ne tegye ki a készüléket mechanikai igénybevételnek.
Ha a biztonságos használat már nem lehetséges, állítsa le a
készüléket, és védje meg a véletlen használattól. A biztonságos
használat már nem garantálható, ha a
készüléknek
látható sérülései vannak,
már nem működik rendeltetésszerűen,
hosszabb időn keresztül kedvezőtlen körülmények között volt
tárolva, vagy
súlyos szállítási igénybevételnek volt kitéve.
• Kezelje óvatosan a készüléket. Lökés, ütés, vagy már kis
magasságból való leejtés következtében is megsérülhet.
• Tartsa be azoknak a készülékeknek a használati útmutatóját és
biztonsági előírásait is, amelyekhez ezt a készüléket csatlakoztatja.
• Soha ne takarja le a készüléket a túlmelegedés megakadályozása
céljából pl. függönnyel stb.
• Ne működtesse a készüléket egy külön időkapcsolóval, külön
távirányítóval vagy más berendezéssel összefüggésben, amelyek a
készüléket automatikusan bekapcsolhatják. Gyulladási veszély áll
fenn, ha a terméket letakarják vagy hibásan szerelik fel.
• Ne öntsön ki folyadékot a készülék felett, ill. ne rakjon semmilyen
folyadékot tartalmazó edényt a készülék mellé. Ha mégis folyadék
kerülne a készülék belsejébe, azonnal áramtalanítsa a hozzá
csatlakoztatott hálózati dugaszaljat(pl. kapcsolja le a biztosíték
automatát) és húzza ki a hálózati dugót a hálózati dugaszoló
aljzatból. Ezután a készüléket nem szabad tovább használni, el kell
vinni egy szakszervizbe.
• Ne használja azonnal a készüléket, ha hideg helyről meleg
helyiségbe vitte. A közben keletkező kondenzvíz bizonyos
körülmények között tönkreteheti a készüléket. Hagyja, hogy a
készülék először vegye át a szobahőmérsékletet, mielőtt
csatlakoztatná és használná. A körülményektől függően ez több óra
hosszat is eltarthat.
• A készüléket fürdőkád, tusoló, vagy úszómedence közvetlen
közelében használni tilos.
• A készüléket közvetlenül egy fali dugaszolóaljzat alatt felállítani
tilos.
• Forduljon szakemberhez, ha kétségei támadnak a készülék
működésével, biztonságosságával vagy csatlakoztatásával
kapcsolatban.
• A karbantartási, szerelési és javítási munkálatokat kizárólag
szakemberrel illetve szakműhellyel végeztesse.
• Ha még lenne olyan kérdése, amelyre ebben a használati
útmutatóban nem talál választ, forduljon a műszaki
ügyfélszolgálatunkhoz vagy más szakemberhez.
b) Elemek
• Az elem berakásakor ügyeljen a helyes polaritásra.
• Vegye ki az elemet, ha a készüléket hosszabb ideig nem használja,
hogy megelőzze a kifolyt elemek által okozott károkat. A kifolyt vagy
sérült elemek a bőrrel érintkezve marási sérülést okozhatnak. Ha
sérült elemeket kell kézbe venni, viseljen védőkesztyűt.
• Az elemeket úgy tárolja, hogy a gyerekek ne tudjanak hozzájuk
jutni. Ne hagyja szanaszét heverni az elemeket, mert a gyerekek
vagy háziállatok lenyelhetik őket.
• Az elemeket ne szedje szét, ne zárja rövidre, és semmiesetre se
dobja tűzbe! Ne próbáljon feltölteni nem feltölthető elemeket.
Robbanásveszély!
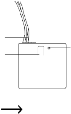
Kezelőszervek
1 Funkció gomb
2 Csatlakozóvezeték
mágneshez
3 Állapotjelző LED (1
csatornás)
2
3
1
Tájékoztatás a hatótávolságról
Az RSL rendszer által működtetett vezeték nélküli adótól
függően a hatótávja max. 70 m. Ennél a hatótáv megadásnál
mindenesetre az un. "szabadtéri" hatótávról van szó (hatótáv
közvetlen látási érintkezésnél adó és vevő között zavaró
befolyások nélkül). A valós körülmények között az adó és a
vevő között falak, födémek stb. vannak, amelyek a
hatótávolságot csökkentik. Mivel a rádióátvitelt különböző
tényezők befolyásolják, sajnos nem lehet határozott
hatótávolságot garantálni. Normál esetben a használat egy
családi házban problémamentes.
A hatótávolságot jelentősen csökkenthetik az alábbi tényezők:
-- falak, vasbeton födémek
-- rétegelt /fémgőzölt szigetelő üvegtáblák


