Owner manual

SX10A: Parts Breakdown & Operating Manual 7 rev. 04/29/06
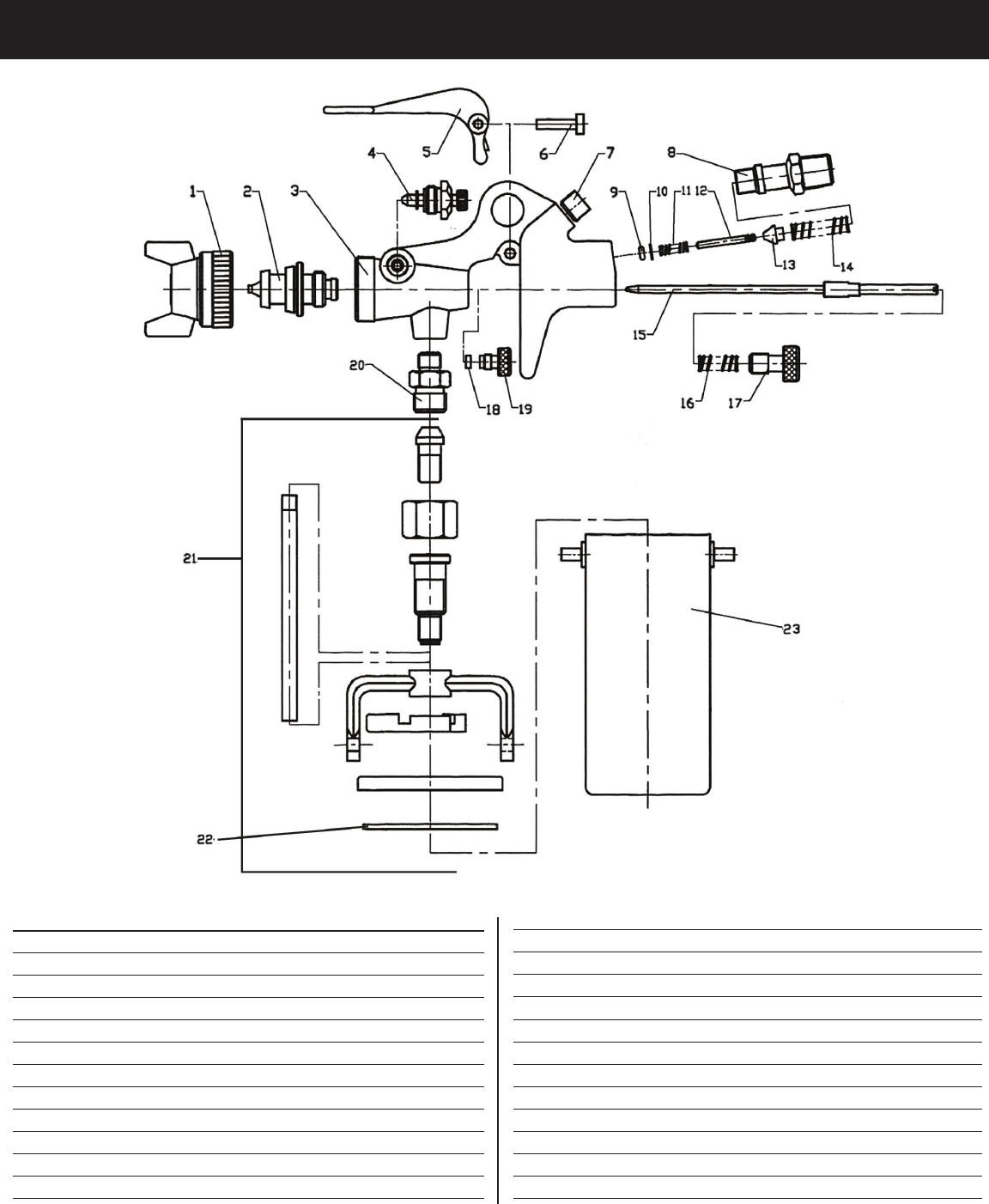
SX10A PARTS BREAKDOWN & PARTS LIST
ITEM NO. PART NO. DESCRIPTION
1 RS10A01 Air Cap
2 RS10A02 Nozzle
3 Gun Body
4 RS10A04 Fan Adjusting Valve Set
5 RS10A05 Trigger
6 RS10A06 Trigger Bolt
7 RS10A07 Bolt
8 RS10A08 Air Joint Screw
9
*
O-Ring
10
*
Gasket
11
*
Valve Pole Spring
12
*
Air Valve Spring
ITEM NO. PART NO. DESCRIPTION
13
*
Air Valve Core
14
*
Valve Core Spring
15 RS10A15 Needle
16
*
Needle Spring
17 RS10A17 Fluid Adjusting Screw
18
*
Needle Packing Gasket
19 RS10A19 Needle Packing Nut
20 RS10A20 Fluid Screw
21 RS10A21 Lid Assembly
22 RS10A22 Paint Cup Gasket
23 RS10A23 Paint Cup
Only items identiļ¬ed by part numbers are available separately. Items marked with an asterisk (
*
) are available only in the repair kit, RS10RK.










