Product Manual
Table Of Contents
- Safety
- 2.1 General
- 2.2 Personal protective equipment
- 2.3 Pressure release
- A. Inspect the pressure relief valve at least weekly to make sure it is not blocked, closed, obstructed or otherwise disabled.
- B. To make sure the pressure relief valve is working properly, open the pressure relief valve at least once a year or more frequently as required by any applicable Federal, State and Local codes, standards and regulations.
- C. Install an appropriate flow-limiting valve between the compressor service air outlet and the shutoff (throttle) valve, when an air hose exceeding 1/2″ (13 mm) inside diameter is to be connected to the shutoff (throttle) valve, to reduce pressure...
- D. When the hose is to be used to supply a manifold, install an additional appropriate flow-limiting valve between the manifold and each air hose exceeding 1/2″ (13 mm) inside diameter that is to be connected to the manifold to reduce pressure in c...
- E. Provide an appropriate flow-limiting valve for each additional 75 feet (23 m) of hose in runs of air hose exceeding 1/2″ (13 mm) inside diameter to reduce pressure in case of hose failure.
- F. Flow-limiting valves are listed by pipe size and rated CFM. Select appropriate valve accordingly.
- G. DO NOT use tools that are rated below the maximum rating of this compressor. Select tools, air hoses, pipes, valves, filters and other fittings accordingly. DO NOT exceed manufacturer’s rated safe operating pressures for these items.
- H. Secure all hose connections by wire, chain or other suitable retaining device to prevent tools or hose ends from being accidentally disconnected and expelled.
- I. Open fluid filler cap only when compressor is not running and is not pressurized. Shut down the compressor and bleed the sump (receiver) to zero internal pressure before removing the cap.
- J. Vent all internal pressure prior to opening any line, fitting, hose, valve, drain plug, connection or other component, such as filters and line oilers, and before attempting to refill optional air line anti-icer systems with antifreeze compound.
- K. Vent all external pressure (pressure downstream of the machine) before disconnecting any air tools, hoses, fittings, etc. or performing any maintenance procedures.
- L. Keep personnel out of line with and away from the discharge opening of hoses, tools or other points of compressed air discharge.
- M. DO NOT use air at pressures higher than 30 psig (2.1 bar) for cleaning purposes, and then only with effective chip guarding and personal protective equipment per OSHA Standard 29 CFR 1910.242 (b) or any applicable Federal, State and Local codes, s...
- N. DO NOT engage in horseplay with air hoses as death or serious injury may result.
- O. This equipment is supplied with an ASME designed pressure vessel protected by an ASME rated relief valve. Lift the handle once a week to make sure the valve is functional. DO NOT lift the handle while machine is under pressure.
- P. If the machine is installed in an enclosed area it is necessary to vent the relief valve to the outside of the structure or to an area of non-exposure.
- Q. DO NOT remove radiator filler cap until the coolant temperature is below its boiling point. Then loosen cap slowly to its stop to relieve any excess pressure and make sure coolant is not boiling before removing cap completely. Remove radiator fill...
- R. The ethyl ether in the replaceable cylinders used in diesel ether starting aid systems (optional) is under pressure. DO NOT puncture or incinerate those cylinders. DO NOT attempt to remove the center valve core or side pressure relief valve from t...
- S. If a manual blowdown valve is provided on the receiver, open the valve to ensure all internal pressure has been vented prior to servicing any pressurized component of the compressor air/fluid system.
- 2.4 Fire and explosion
- A. Refuel at a service station or from a fuel tank designed for its intended purpose. If this is not possible, ground the compressor to the dispenser prior to refueling.
- B. Clean up spills of lubricant or other combustible substances immediately, if such spills occur.
- C. Shut off air compressor and allow it to cool. Then keep sparks, flames and other sources of ignition away and DO NOT permit smoking in the vicinity when adding fuel, checking or adding electrolyte to batteries, checking or adding fluid, checking d...
- D. DO NOT permit fluids, including air line anti-icer system antifreeze compound or fluid film, to accumulate on, under or around acoustical material, or on any external surfaces of the air compressor. Wipe down using an aqueous industrial cleaner or...
- E. Disconnect and lock out all power at source prior to attempting any repairs or cleaning of the compressor or of the inside of the enclosure, if any.
- F. Keep electrical wiring, including all terminals and pressure connectors in good condition. Replace any wiring that has cracked, cut, abraded or otherwise degraded insulation, or terminals that are worn, discolored or corroded. Keep all terminals a...
- G. Turn off battery charger before making or breaking connections to the battery.
- H. Keep grounded and/or conductive objects such as tools away from exposed live electrical parts such as terminals to avoid arcing which might serve as a source of ignition.
- I. Replace damaged fuel tanks or lines immediately rather than attempt to weld or otherwise repair them. DO NOT store or attempt to operate the compressor with any known leaks in the fuel system. Tag the compressor and render it inoperative until rep...
- J. Remove any acoustical material or other material that may be damaged by heat or that may support combustion and is in close proximity, prior to attempting weld repairs.
- K. Keep suitable fully charged Class BC or ABC fire extinguisher or extinguishers nearby when servicing and operating the compressor.
- L. Keep oily rags, trash, leaves, litter or other combustibles out of and away from the compressor.
- M. Open all access doors and allow the enclosure to ventilate thoroughly prior to attempting to start the engine.
- N. DO NOT operate compressor under low overhanging leaves or permit such leaves to contact hot exhaust system surfaces when operating the compressor in forested areas.
- O. Ethyl ether used in diesel engine ether starting aid systems is extremely flammable. Change cylinders, or maintain or troubleshoot these systems only in well-ventilated areas away from heat, open flame or sparks. DO NOT install, store or otherwise...
- P. DO NOT attempt to use ether as a starting aid in gasoline engines or diesel engines with glow plugs as serious personnel injury or property damage may result.
- Q. DO NOT spray ether into compressor air filter or into an air filter that serves both the engine and the compressor as serious damage to the compressor or personal injury may result.
- R. Antifreeze compound used in air line anti-icer systems contains methanol which is flammable. Use systems and refill with compound only in well-ventilated areas away from heat, open flames or sparks. DO NOT expose any part of these systems or the a...
- S. Store flammable fluids and materials away from your work area. Know where fire extinguishers are and how to use them, and for what type of fire they are intended. Check readiness of fire suppression systems and detectors if so equipped.
- T. DO NOT operate the compressor without proper flow of cooling air or water or with inadequate flow of lubricant or with degraded lubricant.
- U. DO NOT attempt to operate the compressor in any classification of hazardous environment unless the compressor has been specially designed and manufactured for that duty.
- 2.5 Moving parts
- A. Keep hands, arms and other parts of the body and also clothing away from couplings, fans and other moving parts.
- B. DO NOT attempt to operate the compressor with the fan, coupling or other guards removed.
- C. Wear snug-fitting clothing and confine long hair when working around this compressor, especially when exposed to hot or moving parts.
- D. Make sure all personnel are out of and/or clear of the compressor prior to attempting to start or operate it.
- E. When adjusting the controls, it may require operation of the equipment during adjustment. DO NOT come in contact with any moving parts while adjusting the control regulator and setting the engine RPM. Make all other adjustments with the engine shu...
- F. Keep hands, feet, floors, controls and walking surfaces clean and free of fluid, water or other liquids to minimize the possibility of slips and falls.
- 2.6 Hot surfaces, sharp edges and sharp corners
- A. Avoid bodily contact with hot fluid, hot coolant, hot surfaces and sharp edges and corners.
- B. Keep all parts of the body away from all points of air discharge and away from hot exhaust gases.
- C. Wear personal protective equipment including gloves and head covering when working in, on or around the compressor.
- D. Keep a first aid kit handy. Seek medical assistance promptly in case of injury. DO NOT ignore small cuts and burns as they may lead to infection.
- 2.6.1 Tier 4 emissions module—if equipped
- 2.7 Toxic and irritating substances
- A. DO NOT use air from this compressor for respiration (breathing) except in full compliance with OSHA Standards 29 CFR 1920 and any other Federal, State or Local codes or regulations.
- B. DO NOT use air line anti-icer systems in air lines supplying respirators or other breathing air utilization equipment and DO NOT discharge air from these systems into unventilated or other confined areas.
- C. Operate the compressor only in open or adequately ventilated areas.
- D. Locate the compressor so that exhaust fumes are not apt to be carried towards personnel, air intakes servicing personnel areas or towards the air intake of any portable or stationary compressor.
- E. Fuels, fluids and lubricants used in this compressor are typical of the industry. Care should be taken to avoid accidental ingestion and/or skin contact. In the event of ingestion, seek medical treatment promptly. Wash with soap and water in the e...
- F. Wear goggles or a full face shield when adding antifreeze compound to air line anti-icer systems.
- G. Wear an acid-resistant apron and a face shield or goggles when servicing the battery. If electrolyte is spilled on skin or clothing, immediately flush with large quantities of water.
- H. Ethyl ether used in diesel engine ether starting aid systems is toxic, harmful or fatal if swallowed. Avoid contact with the skin or eyes and avoid breathing the fumes. If swallowed, DO NOT induce vomiting and call a physician immediately.
- I. Wear goggles or a full face shield when testing ether starting aid systems or when adding antifreeze compound to air line anti-icer systems. Keep openings of valve or atomizer tube of ether starting aid system pointed away from yourself and other ...
- J. If air line anti-icer system antifreeze compound enters the eyes or if fumes irritate the eyes, they should be washed with large quantities of clean water for fifteen minutes. A physician, preferably an eye specialist, should be contacted immediately
- K. DO NOT store ether cylinders or air line anti-icer system antifreeze compound in operator’s cabs or in other similar confined areas.
- L. The antifreeze compound used in air line antifreeze systems contains methanol and is toxic, harmful or fatal if swallowed. Avoid contact with the skin or eyes and avoid breathing the fumes. If swallowed, induce vomiting by administering a tablespo...
- M. If your compressor is equipped with Diesel Exhaust Fluid (DEF), when handling DEF wear protective clothing. Tools and clothing that come in contact with DEF must be cleaned.
- 2.8 Electrical shock
- A. Keep the towing vehicle or equipment carrier, compressor hoses, tools and all personnel at least 10 feet (3 m) from power lines and buried cables.
- B. Stay clear of the compressor during electrical storms! It can attract lightning.
- C. Keep all parts of the body and any hand-held tools or other conductive objects away from exposed live parts of electrical system. Maintain dry footing, stand on insulating surfaces and DO NOT contact any other portion of the compressor when making...
- D. Attempt repairs in clean, dry and well lighted and ventilated areas only.
- 2.9 Lifting
- A. If the compressor is provided with a lifting bail, then lift by the bail provided. If no bail is provided, then lift by sling. Compressors to be air lifted by helicopter must not be supported by the lifting bail, but by slings instead. In any even...
- B. Inspect lifting bail and points of attachment for cracked welds and for cracked, bent, corroded or otherwise degraded members and for loose bolts or nuts prior to lifting.
- C. Make sure entire lifting, rigging and supporting structure has been inspected, is in good condition and has a rated capacity of at least the net weight of the compressor plus an additional 10% allowance for weight of water, snow, ice, mud, stored ...
- D. Make sure lifting hook has a functional safety latch or equivalent, and is fully engaged and latched on the bail.
- E. Use guide ropes or equivalent to prevent twisting or swinging of the compressor once it has been lifted clear of the ground.
- F. DO NOT attempt to lift in high winds.
- G. Keep all personnel out from under and away from the compressor whenever it is suspended.
- H. Lift compressor no higher than necessary.
- I. Keep lift operator in constant attendance whenever compressor is suspended.
- J. Set compressor down only on a level surface capable of supporting at least its net weight plus an additional 10% allowance for the weight of water, snow, ice, mud, stored tools, and/or equipment.
- K. If the compressor is provided with parking brakes, make sure they are set, and in any event, block or chock both sides of all running wheels before disengaging the lifting hook.
- 2.10 Entrapment
- A. Make sure all personnel are out of compressor before closing and engaging enclosure doors.
- B. If the compressor is large enough to hold a man and if it is necessary to enter it to perform service adjustments, inform other personnel before doing so, or else secure the access door in the open position to avoid the possibility of others closi...
- 2.11 Implementation of lockout/tagout
- A. The established procedures for the application of energy control shall cover the following elements and actions and shall be initiated only by Authorized Persons and done in the following sequence:
- 1. Review the equipment or machine to be locked and tagged out.
- 2. Alert operator and supervisor of which machine is to be worked on, and that power and utilities will be turned off.
- 3. Check to make certain no one is operating the machine before turning off the power.
- 4. Turn off the equipment using normal shutdown procedure.
- 5. Disconnect the energy sources:
- a. Air and hydraulic lines should be bled, drained and cleaned out. There should be no pressure in these lines or in the reservoir tanks. Lockout or tag lines or valves.
- b. Any mechanism under tension or pressure, such as springs, should be released and locked out or tagged.
- c. Block any load or machine part prior to working under it.
- d. Electrical circuits should be checked with calibrated electrical testing equipment and stored energy and electrical capacitors should be safely discharged.
- 6. Lockout and/or Tagout each energy source using the proper energy isolating devices and tags. Place lockout hasp and padlock or tag at the point of power disconnect where lockout is required by each person performing work. Each person shall be prov...
- 7. Tagout devices shall be used only when power sources are not capable of being locked out by use of padlocks and lockout hasp devices. The name of the person affixing tag to power source must be on tag along with date tag was placed on power source.
- 8. Release stored energy and bring the equipment to a “zero mechanical state”.
- 9. Verify Isolation: Before work is started, test equipment to ensure power is disconnected.
- B. General Security
- 1. The lock shall be removed by the “Authorized” person who put the lock on the energy-isolating device. No one other than the person/persons placing padlocks and lockout hasps on power shall remove padlock and lockout hasps and restore power. Ho...
- a. verified that no person will be exposed to danger.
- b. verified that the “Authorized” person who applied the device is not in the facility.
- c. noted that all reasonable efforts to contact the “Authorized” person have been made to inform him or her that the lockout or tagout device has been removed.
- d. ensured that the “Authorized” person is notified of lock removal before returning to work.
- 2. Tagout System—Tags are warning devices affixed at points of power disconnect and are not to be removed by anyone other that the person placing tag on power lockout. Tags shall never be by-passed, ignored, or otherwise defeated.
- 2.12 Jump starting
- A. Observe all safety precautions mentioned elsewhere in this manual.
- B. Batteries may contain hydrogen gas which is flammable and explosive. Keep flames, sparks and other sources of ignition away.
- C. Batteries contain acid which is corrosive and poisonous. DO NOT allow battery acid to contact eyes, skin, fabrics or painted surfaces as serious personal injury or property damage could result. Flush any contacted areas thoroughly with water immed...
- D. Remove all vent caps (if so equipped) from the battery or batteries in the compressor. DO NOT permit dirt or foreign matter to enter the open cells.
- E. Check fluid level. If low, bring fluid to proper level before attempting to jump start (not applicable to maintenance-free batteries).
- F. DO NOT attempt to jump start if fluid is frozen or slushy. Bring batteries up to at least 60°F (16°C) before attempting to jump start or it may explode.
- G. Cover open cells of all compressor batteries with clean dampened cloths before attempting to jump start.
- H. Attempt to jump start only with a vehicle having a negative ground electrical system with the same voltage, and is also equipped with a battery or batteries of comparable size or larger than supplied in the compressor. DO NOT attempt to jump start...
- I. Bring the starting vehicle alongside the compressor, but DO NOT permit metal to metal contact between the compressor and the starting vehicle.
- J. Set the parking brakes of both the compressor (if provided) and the starting vehicle or otherwise block both sides of all wheels.
- K. Place the starting vehicle in neutral or park, turn off all non-essential accessory electrical loads and start its engine.
- L. Use only jumper cables that are clean, in good condition and are heavy enough to handle the starting current.
- M. Avoid accidental contact between jumper cable terminal clips or clamps and any metallic portion of either the compressor or the starting vehicle to minimize the possibility of uncontrolled arcing which might serve as a source of ignition.
- N. Positive battery terminals are usually identified by a plus (+) sign on the terminal and the letters POS adjacent to the terminal. Negative battery terminals are usually identified by the letters NEG adjacent to the terminal or a negative (-) sign.
- O. Connect one end of a jumper cable to the positive (POS) (+) battery terminal in the starting vehicle. When jump starting 24V compressors and if the starting vehicle is provided with two (2) 12V batteries connected in series, connect the jumper cab...
- P. Connect the other end of the same jumper cable to the positive (POS) (+) terminal of the starter motor battery in the compressor when jump starting 24V compressors, to the positive (POS) (+) terminal of the ungrounded battery in the compressor.
- Q. Connect one end of the other jumper cable to the grounded negative (NEG) (-) terminal of the battery in the starting vehicle. When jump starting 24V compressors and if the starting vehicle is provided with two (2) 12V batteries connected in series...
- R. Check your connections. DO NOT attempt to start a 24V compressor with one 12V battery in the starting vehicle. DO NOT apply 24V to one 12V battery in the compressor.
- S. Connect the other end of this same jumper cable to a clean portion of the compressor engine block away from fuel lines, the crank case breather opening and the battery.
- T. Start the compressor in accordance with normal procedure. Avoid prolonged cranking.
- U. Allow the compressor to warm up. When the compressor is warm and operating smoothly at normal idle RPM, disconnect the jumper cable from the engine block in the compressor, then disconnect the other end of this same cable from the grounded negativ...
- V. Remove and carefully dispose of the dampened cloths, as they may now be contaminated with acid, then replace all vent caps.
- 2.13 Towing1
- 2.13.1 Preparing to tow
- A. Prior to hitching the air compressor to the tow vehicle, inspect all attachment parts and equipment, checking for (I) signs of excessive wear or corrosion, (II) parts that are cracked, bent, dented or otherwise deformed or degraded, and (III) loos...
- B. Back the tow vehicle to the compressor and position it in preparation for coupling the compressor.
- C. If the compressor is provided with a drawbar latched in the vertical upright position, carefully unlatch drawbar and lower it to engage the coupling device. If not, raise drawbar with the jack to engage coupling device or otherwise couple the comp...
- D. Make sure the coupling device is fully engaged, closed and locked.
- E. If chains are provided, pass each chain through its point of attachment on the towing vehicle; then hook each chain to itself by passing the grab hook over (not through) a link. Cross chains under the front of drawbar before passing them through p...
- F. Make sure that the coupling device and adjacent structures on the towing vehicle (and also, if utilized, chain adjustment, brake and/or electrical interconnections) DO NOT interfere with or restrict motion of any part of the compressor, including ...
- G. If provided, make sure chain length, brake and electrical interconnections provide sufficient slack to prevent strain when cornering and maneuvering, yet are supported so they cannot drag or rub on road, terrain or towing vehicle surfaces which mi...
- H. On two-wheeled models, fully retract front screw jack and any rear stabilizer legs. If a caster wheel is provided on the screw jack it is part of the screw jack, and can not be removed. Follow the same procedure for stowing away the wheeled jack a...
- I. Make sure tires are in good condition and are the size (load range) specified and are inflated to the specified pressures. DO NOT change the tire size or type. Also, make sure wheel bolts, lugs or nuts are tightened to the specified torques.
- J. If provided, make sure all dual stop, tail directional and clearance lights are operating properly and that their lenses are clean and functional. Also, make sure all reflectors and reflecting surfaces, including the slow moving vehicle emblem on ...
- K. Make sure all service air hoses (not air brake hoses) are disconnected or are fully stowed and secured on hose reels, if provided.
- L. Make sure all access doors and tool box covers are closed and latched. If the compressor is large enough to hold a man, make sure all personnel are out before closing and latching access doors.
- M. Make sure parking brakes in towing vehicle are set, or that its wheels are chocked or blocked, or that it is otherwise restrained from moving. Then, release the compressor parking brakes, if provided.
- N. Make sure the compressor wheels are not chocked or blocked, and that all tie-downs, if any, are free.
- O. Test running brake operation, including breakaway switch operation if provided, before attempting to tow the compressor at its rated speed or less when conditions prevail.
- P. DO NOT carry loose or inappropriate tools, equipment or supplies on or in the compressor.
- Q. DO NOT load this equipment with accessories or tools such that it is unbalanced from side to side or front to back. Such unbalance will reduce the towability of this equipment and may increase the possibility of tipping, rolling over, jackknifing,...
- 2.13.2 Towing
- A. Observe all Federal, State, and Local laws while towing this equipment (including those specifying minimum speed).
- B. DO NOT exceed the towing speeds listed below under ideal conditions. Reduce your speed according to posted speed limits, weather, traffic, road or terrain conditions:
- C. Two axle four-wheel or three axle six-wheel steerable models: 15 mph (24 km/h).
- D. All other models: 55 mph (88 km/h).
- E. Remember that the portable air compressor may approach or exceed the weight of the towing vehicle. Maintain increased stopping distances accordingly. DO NOT make sudden lane changes, U-turns or other maneuvers. Such maneuvers can cause the compres...
- F. Avoid grades in excess of 15° (27%).
- G. Avoid potholes, rocks and other obstructions, and soft shoulders or unstable terrain.
- H. Maneuver in a manner that will not exceed the freedom of motion of the compressor’s drawbar and/ or coupling device, in or on the towing vehicle’s coupling device and/or adjacent structure whether towing forward or backing up, regardless of th...
- I. DO NOT permit personnel to ride in or on the compressor.
- J. Make sure the area behind, in front of, and under the compressor is clear of all personnel and obstructions prior to towing in any direction.
- K. DO NOT permit personnel to stand or ride on the drawbar, or to stand or walk between the compressor and the towing vehicle.
- 2.13.3 Parking or locating compressor
- A. Park or locate compressor on a level surface, if possible. If not, park or locate compressor across grade so the compressor does not tend to roll downhill. DO NOT park or locate compressor on grades exceeding 15° (27%) using wheel chocks or 10° ...
- B. Make sure compressor is parked or located on a firm surface that can support its weight.
- C. Park or locate compressor so the wind, if any, tends to carry the exhaust fumes and radiator heat away from the compressor air inlet openings, and also where the compressor will not be exposed to excessive dust from the work site.
- D. On steerable models, park compressor with front wheels in straight-ahead position.
- E. Set parking brakes and disconnect breakaway switch cable and all other interconnecting electrical and/or brake connections, if provided.
- F. Block or chock both sides of all wheels.
- G. If provided, unhook chains and remove them from the points of chain attachment on the towing vehicle, then hook chains to bail on drawbar or wrap chains around the drawbar and hook them to themselves to keep chains off the ground which might accel...
- H. If outfitted, lower front screw jack and/or any front and rear stabilizer legs. Make sure the surface they contact has sufficient load bearing capability to support the weight of the compressor.
- I. If a caster wheel is provided on the screw jack, it is part of the screw jack and cannot be removed. Follow the same procedure for stowing away the wheeled jack as you would for the standard screw jack. Raise the screw jack to its full upright pos...
- J. Disconnect coupling device, keeping hands and fingers clear of all pinch points. If the compressor is provided with a drawbar, DO NOT attempt to lift the drawbar or if hinged, to raise it to the upright position by hand, if the weight is more than...
- K. Move the towing vehicle well clear of the parked compressor and erect hazard indicators, barricades and/or flares (if at night) if compressor is parked on or adjacent to public roads. Park so as not to interfere with traffic.
- 2.13.1 Preparing to tow
- 2.14 California proposition 65
- 2.15 Symbols and references
- Description
- 3.7 Piping and instrumentation—compressor system
- 3.8 Piping and instrumentation—engine system
- Components
- 3.9 Air inlet system, functional description
- 3.10 Instrument panel group, functional description
- Figure 3-4: Instrument panel
- 1. The master gauge continuously monitors the receiver tank pressure and displays engine and compressor status.
- 2. The LCD display displays the status of the engine and the compressor.
- 3. The user interface buttons navigate the LCD display screen.
- 4. The active regeneration lamp helps to indicate regeneration status. See Section 3.11: Engine exhaust after-treatment on page 30.
- 5. The regeneration needed / request lamp helps to indicate regeneration status. See Section 3.11: Engine exhaust after-treatment on page 30.
- 6. The engine shutdown lamp indicates that the engine should be shut down immediately to prevent engine damage. Always correct the problem that caused the shutdown before restarting the compressor.
- 7. The compressor shutdown lamp indicates the engine and compressor safety shutdown status.
- 8. If equipped with the fuel level sender option, the low fuel lamp indicates that the fuel level is near the shutdown level.
- 9. The inhibit lamp indicates that regeneration is inhibited. See Section 3.11: Engine exhaust after-treatment on page 30.
- 10. The compressor warning lamp indicates a compressor fault has occurred.
- 11. The engine warning lamp indicates that an abnormal condition exists in the engine system. You do not need to shutdown the compressor and correct the problem immediately, but you should correct the problem as soon as possible.
- 12. The START/ON/OFF switch energizes the system and starts the compressor. The engine switch is pressed to the ON position to energize the electrical system, and pressed momentarily to the START position to engage the starter and start the compressor.
- 13. The FORCE/REGEN/INHIBIT regeneration switch controls after-treatment of the engine exhaust. See Section 3.11: Engine exhaust after-treatment on page 30.
- 14. The diagnostic service port is used to connect a service diagnostic tool.
- 15. The idle warm-up control reduces compressor load at start-up. Turned the control from START to RUN after the compressor warms up for full compressor operation.
- Figure 3-4: Instrument panel
- 3.11 Engine exhaust after-treatment
- 3.12 Wiring diagram
- 4.5 Identification—DPQ
- 4.6 Identification—DLQ
- Operation
- 5.1 General
- 5.2 Purpose of controls
- 5.3 Starting the compressor
- 1. Ensure that the compressor is on a level surface.
- 2. Ensure that a minimum clearance of 3 feet is provided all the way around the machine to allow exhaust gas to ventilate before operating the machine.
- 3. Check all oil and fluid levels in the engine and compressor. Add oil and/or fluid if necessary.
- 4. Fill the fuel tank and drain any water from the fuel/ water separator.
- 5. Check the dust collectors and clean if necessary.
- 6. Crack open one service line.
- 7. Turn the WARM-UP CONTROL control to the START position.
- 1. Gauge pointers will move to the zero position, then to half and full scale, then back to zero, and finally to the actual value reading.
- 2. The LCD display will turn on all its segments for one second, off for one second, and then display the Sullair logo followed by the software product number with revision level.
- 3. All warning lights will turn on for 2.5 seconds and then turn off, then set to the actual indicator state.
- 8. Toggle the START/ON/OFF switch to the ON position.
- 9. Wait for the status message on the display to switch to Ready.
- 10. Momentarily toggle the START/ON/OFF to the START position and release the switch to engage the starter.
- 11. After 30 seconds, turn the WARM-UP CONTROL from START to RUN to put the compressor in full operation.
- 12. Close all doors to maintain proper noise level.
- 5.4 Shutting down the compressor
- Maintenance
- 6.1 General
- 6.2 Engine coolant requirement for radiators
- 6.3 Daily maintenance
- 6.4 Maintenance after initial 50 hours of operation
- 6.5 Maintenance every 50 hours
- 6.6 Maintenance every 100 hours
- 6.7 Maintenance every 250 hours
- 6.8 Maintenance every 1500 hours
- 6.9 Part replacement and adjustment procedures
- 6.9.1 Compressor fluid change procedure
- 1. Run the compressor five to ten minutes to warm the fluid.
- 2. Shut the compressor down and relieve all internal pressure.
- 3. Drain the fluid receiver tank by removing the plug, or opening the valve at the bottom of the receiver tank.
- 4. Change the compressor fluid and replace the fluid filter element (For element replacement see Section 6.9.2: Compressor fluid filter replacement.)
- 5. Fill the receiver tank with fluid in accordance with the specifications in Section 3.
- 6.9.2 Compressor fluid filter replacement
- Figure 6-1: Compressor fluid filter
- 1. Remove the old fluid filter with a strap wrench.
- 2. Clean the gasket seating surface.
- 3. Apply a light coating of fluid to the new gasket.
- 4. Hand tighten the new fluid filter until the new gasket is seated.
- 5. Continue tightening the fluid filter by hand an additional ½ to ¾ turn.
- 6. Restart the compressor and check for leaks.
- Figure 6-1: Compressor fluid filter
- 6.9.3 Air filter maintenance
- Figure 6-2: Air filter
- 6.9.3.1 Air filter replacement
- 1. Loosen and remove the air filter and cover.
- 2. Remove the primary and optional safety elements.
- 3. Clean the body, inside and out, with a damp cloth.
- 4. Reinstall (if clean) or replace the safety element if installed.
- 5. Replace the new primary filter element.
- 6. Reposition the cover and lock it into the position.
- 7. Reset the filter restriction indicator (if equipped).
- Element inspection
- 1. Insert a bright light source into the element and look for any light leaks which indicate the presence of damage (holes, cracks, etc.)
- 2. Inspect all gaskets and gasket contact surfaces of the housing and replace any damaged ones.
- 3. Store clean elements for later use in a clean container.
- 4. After installing the element, inspect and tighten all air inlet connections before operating the compressor.
- 6.9.4 Separator element replacement
- Figure 6-3: Air/fluid separator
- 1. Disconnect all receiver tank cover piping connections to permit removal (return line, service line, etc.).
- 2. Remove the fluid return line from the fitting on the cover.
- 3. Remove the eight (8) cover bolts and washers and lift the cover off the receiver tank.
- 4. Remove the separator element.
- 5. Scrape the old gasket material from the cover and the flange on the receiver tank. Do not allow the scrapings to fall into the tank.
- 6. Install the new element.
- 7. Replace the receiver tank cover and bolts. Lightly tighten all the bolts and then gradually tighten them alternating between bolts which are diagonally opposite each other. Torque the bolts to 60 ft-lbs (81 N•m).
- 8. Reconnect all piping. The fluid return line tube should extend to the bottom of the separator element which will ensure proper return line flow.
- 9. Clean the fluid return line strainer and clear the orifice before starting the compressor.
- 10. After 24 hours of operation, tighten the receiver tank cover bolts to the value given in step 7.
- Figure 6-3: Air/fluid separator
- 6.9.5 Fuel/water separator maintenance
- Figure 6-4: Fuel/water separator
- 6.9.5.1 Draining water from the fuel/water separator
- 1. Shut down the compressor.
- 2. Open the compressor canopy.
- 3. Place a container for collecting the fluid under the drain.
- 4. Open the drain valve by turning it two turns to the left. Any water in the separator bowl will flow out through the drain.
- 5. When the fluid flowing from the drain changes from water to fuel, close the drain valve by turning the valve to the right until tight.
- 6. Close the compressor canopy.
- 6.9.5.2 Replacing the fuel filter of the fuel/water separator
- 1. Shut down the compressor.
- 2. Open the compressor canopy.
- 3. Remove the separator bowl by turning it to the left.
- 4. Remove the old fuel filter by turning it to the left.
- 5. Install the new fuel filter by turning it to the right until tight.
- 6. Install the separator bowl by turning it to the right until tight.
- 7. Close the compressor canopy.
- 6.9.6 Cleaning the engine cooling system
- 1. Shut down the compressor.
- 2. Allow the compressor to cool to ambient temperature.
- 3. Open the compressor canopy.
- 4. Disconnect the battery and tagout the connection.
- 5. Close the compressor canopy.
- 6. Remove the eight (8) recessed hex cap screws from the front louver.
- 7. Detach the front louver from the canopy.
- 8. Using a pressure washer, spray the cooler and radiator from side-to-side, starting at the top and moving down.
- 9. Open the compressor canopy.
- 10. Using a pressure washer, clean the fan blades by blowing down through the fan guards.
- 11. Allow the compressor to dry completely.
- 12. Connect the battery and remove the tagout.
- 13. Close the compressor canopy.
- 14. Attach the front louver to the canopy.
- 15. Install the eight (8) recessed hex cap screws on the front louver.
- 6.9.7 Procedure for setting speed & pressure controls on portable compressors equipped with poppet valves
- Figure 6-5: Control system adjustment
- 1. Start the compressor and allow the engine to warm-up to its normal operating temperature with the service valve closed.
- 2. Adjust the pressure regulator so that the compressor maintains 115 psig (8 bar).
- 3. Open the service valve to 100 psig (6.9 bar) (rated full load pressure) and recheck top engine speed and control response. Close the service valve and allow the compressor to cycle and re-check low engine speed (idle).
- Figure 6-5: Control system adjustment
- 6.9.8 Bearing lubrication
- Figure 6-6: Typical E-Z lube axle
- 1. Remove the rubber cap from the grease cap’s end.
- 2. Using a full charged grease gun, place the gun onto the grease zerk located on the end of the spindle. Make sure the nozzle is fully engaged on the fitting.
- 3. Pump grease into the zerk. The old grease will be displaced and flow out of the cap around the grease gun nozzle.
- 4. When the new grease starts flowing out of the cap, disengage the gun and wipe off any excess off the cap; and replace the rubber plug.
- Figure 6-6: Typical E-Z lube axle
- 6.9.1 Compressor fluid change procedure
- 6.10 Troubleshooting
- Noise Control
- 7.1 Noise emissions warranty
- 7.2 Tampering with the noise control system is prohibited
- 1. The removal or rendering inoperative by any persons, other than for purposes of maintenance, repair, or replacement, of any device or element of design incorporated into any new compressor for the purpose of noise control prior to its sale or deli...
- 2. The use of the compressor after such device or element of design has been removed or rendered inoperative by any person.
- 1. Removal or rendering inoperative any of the following:
- 2. Removal of any of the following:
- 3. Operation with canopy doors open for any purpose other than starting, stopping, adjustment, repair, replacement of parts or maintenance.
- 7.3 Noise emissions maintenance and maintenance record log
- Table 7-1: Annual muffler and exhaust system inspection
- Table 7-2: Annual air filter(s) and air inlet system inspection
- Table 7-3: Annual engine vibration mount inspection
- Table 7-4: Annual frame, canopy and parts inspection
- Table 7-5: Annual acoustical materials inspection
- Table 7-6: Annual inspections for proper operation of all systems
- Operation

185 T4F Kubota User Manual 4: Specifications
02250216-781 R02
Subject to EAR, ECCN EAR99 and related export control restrictions. 37
4.4 Application guide
Sullair portable air compressors are filled with Sullair
AWF
®
. Sullair AWF is a heavy-duty, multi-viscosity, all-
weather fluid suitable to a wide variety of conditions,
including conditions that can cause severe fluid oxida-
tion.
Periodically drain the condensate from
the air/fluid sep-
arator. In high ambient temperature and high humidity
condition
s, condensed moisture can emulsify with the
fluid (indicated by the fluid turning a “milky” color).
Change the fluid if this condition develops.
Do not mix different types or brands of fluid. Mixing dif-
fere
nt types or brands of fluids can lead to operational
pro
blems such as foaming, plugged filters, blocked ori-
fices or lines, or even severe problems like a plugged
cooler
or a locked air end.
Contact your Sullair representative for fluid recommenda-
tions if operating conditions require the use of an
exten
ded life fluid (for example, the ambient temperature
is outside the recommended temperature range for Sul-
lair AWF).
Sullair encourages users to participate in a fluid analysis
pro
gram. The analysis might indicate a need for change
intervals different from those recommended in this man-
ual (for example, to maximize the life of the machine in
dir
ty e
nvironments). Contact your Sullair representative
for details.
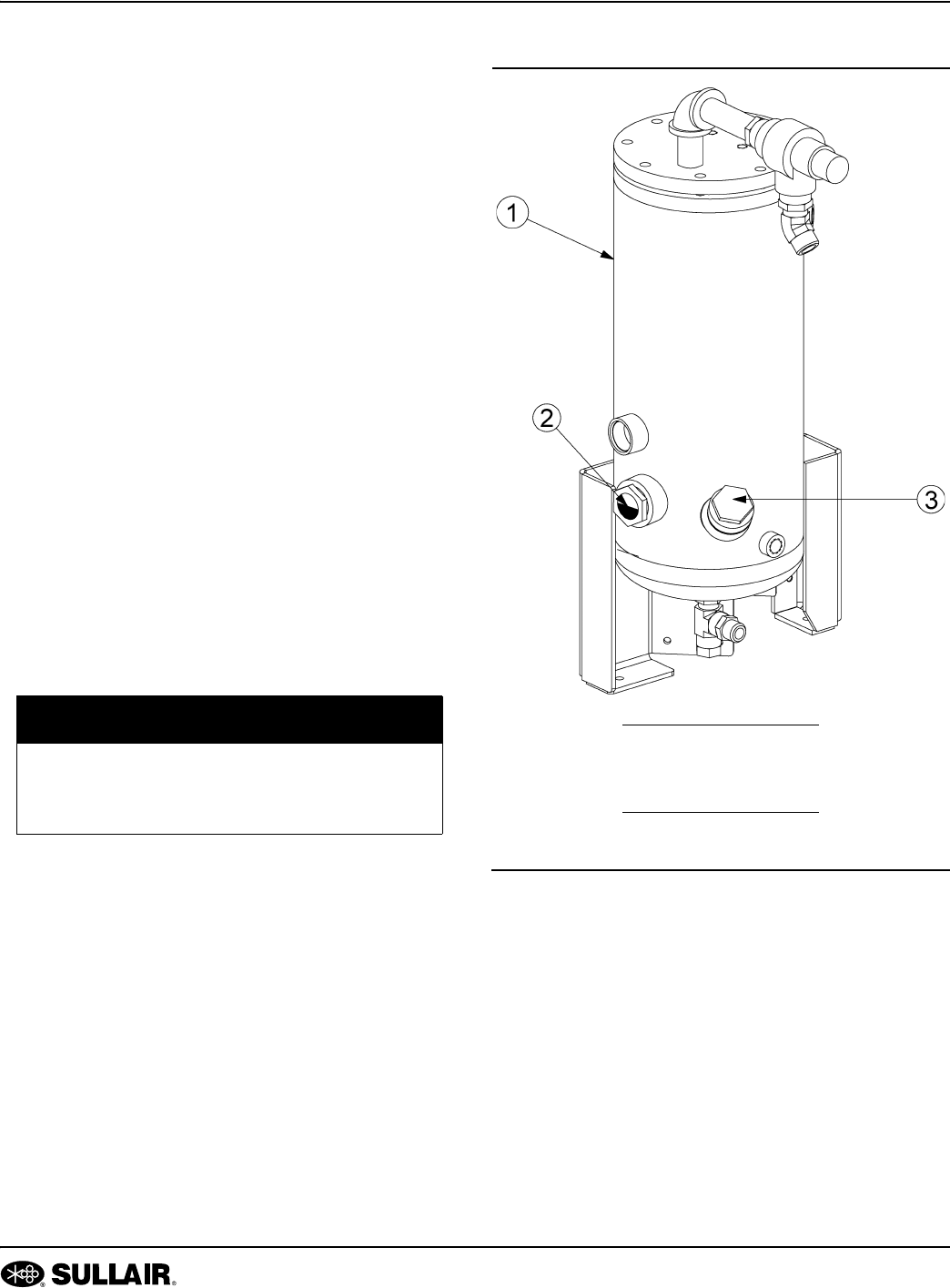
NOTE
Proper compressor fluid level visible halfway in
fluid sight glass when checked on a level surface
with the compressor not running.
Figure 4-1: Receiver tank
1. Receiver/tank
2. Sight glass
3. Fluid fill port