
of 5
Page
4
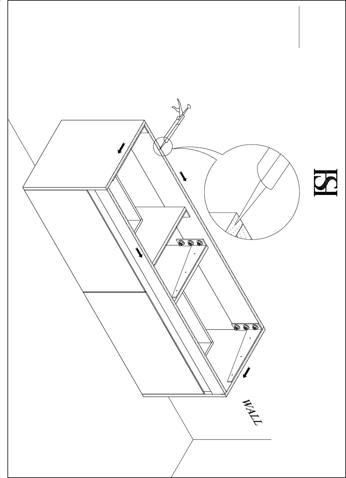
STEP 3:
CAULK (SEAL) THE TOP
TO THE VANITY BASE
* Caulk should be used around the cabinet.
Need about (0.70oz -1.00oz).
* Use 1 thick line down the middle of each piece.
* Please check spec of caulk for drying time.
S T U F U R H O M E
F URNISHINGS