user manual
Manuals
Brands
Stow Manuals
Music Mixer
A multiquip Comapny Music Mixer MS15H5.5
61
62
63
64
65
66
67
68
69
70
P
A
GE 64 — MQ ST
O
W MS15H/MS15E MIXER — P
ARTS & OPERA
TION MANU
AL — REV
.FINAL (08/10/06)
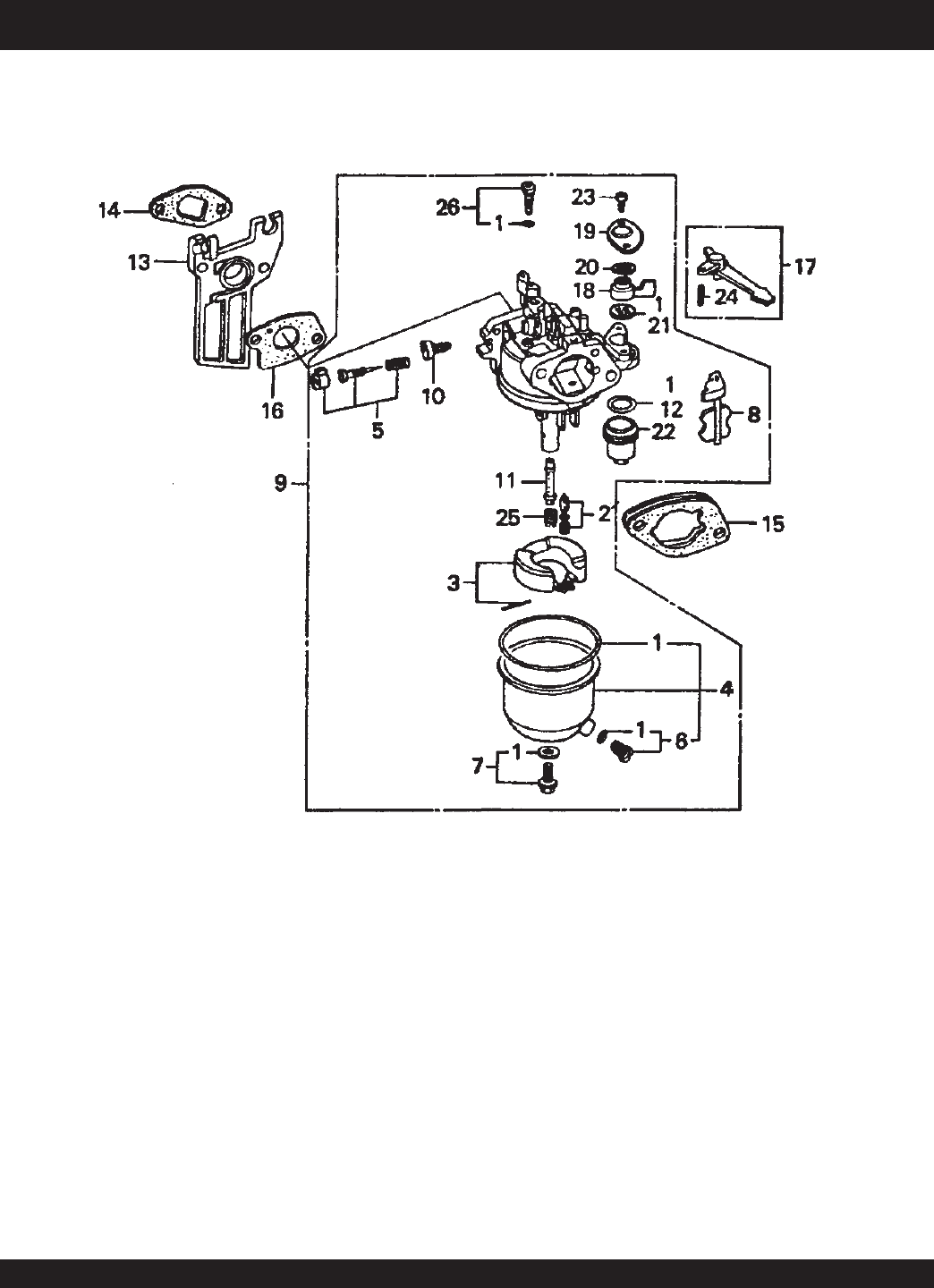
CARBURET
OR ASSY
.
HOND
A GX160K1HX2 ENGINE — CARB
URET
OR ASSY
.
1
...
...
62
63
64
65
66
...
...
84