- Sterlco Series R Air-Cooled Rotary Liquid Chiller Installation Operation Maintenance Manual
Manuals
Brands
Sterling Manuals
Water Dispenser
Sterlco Series R RTAA-110
71
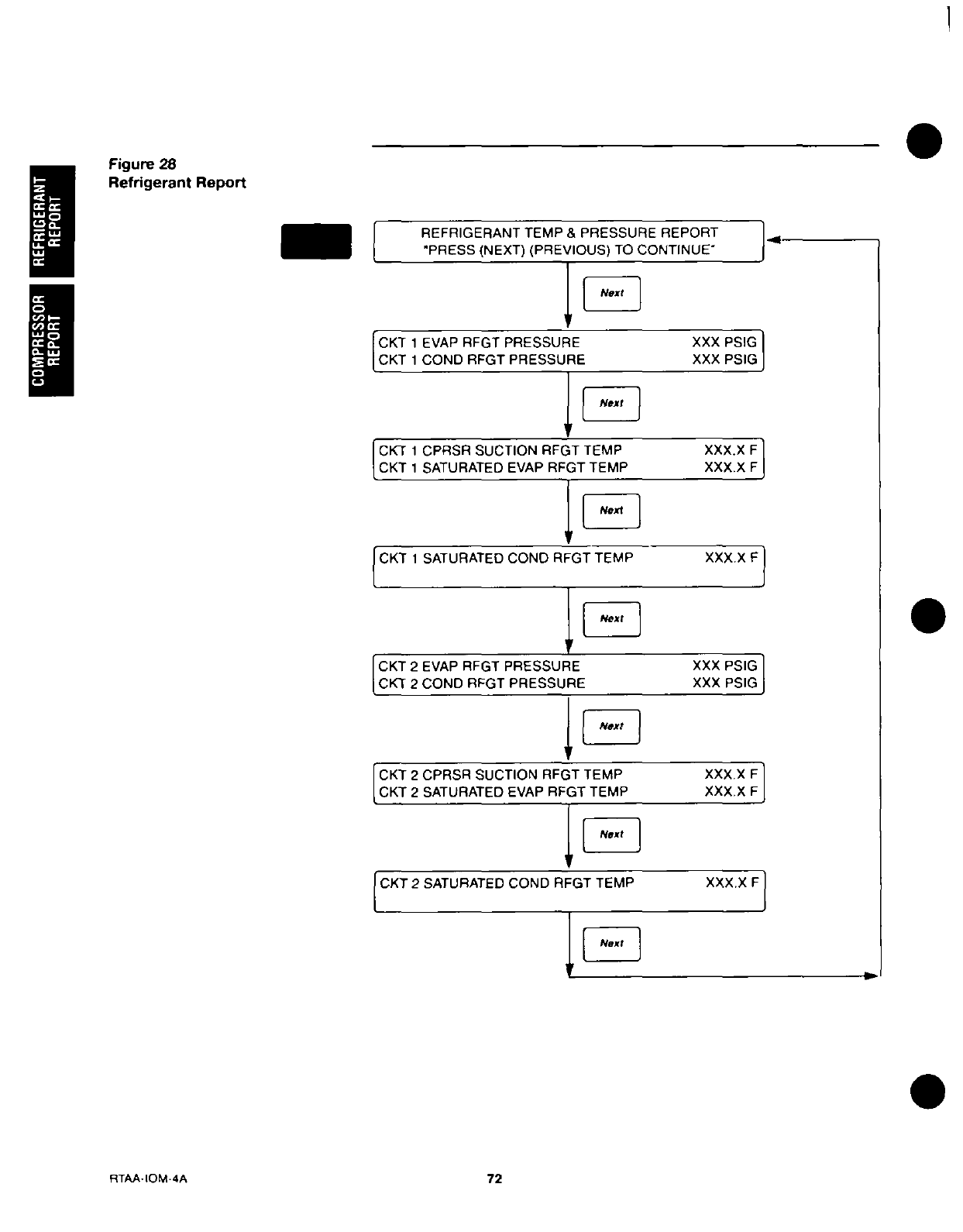
72
73
74
75
76
77
78
79
80
1
...
...
77
78
79
80
81
...
...
156