User Guide

Fiberglass Cooling Towers Chapter 3: Installation Page 15 of 25
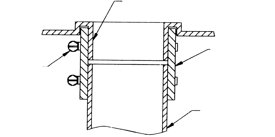
Figure 5: Flexible PVC Outlet Coupler
Tower outlet
Flexible PVC
coupling
(from AEC)
Outlet pipe must be
supported from building
structure or tower steel
Clamps
(from AEC)
(from Sterling)
Flexible PVC
Coupling
(from Sterlin
g
)