User manual
Manuals
Brands
Sterling Manuals
Other
Refrigerator A0554831
61
62
63
64
65
66
67
68
69
70
2-40 HP Portable Chillers
Chapter 7: Appendix
68 of 70
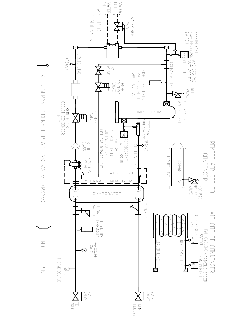
Typical Piping Schematic, 5 hp through 40 hp, No-Pump Models
1
...
...
66
67
68
69
70