Instructions / Assembly

Pre-Operating Instructions: Engine Oil Level Check
NOTICE:
• Runningenginewithinsufficientengineoilcancauseseveredamagetotheengine.
• Theengineperformanceandservicelifeisdirectlydependentofthequalityoftheengineoil.DoNOTuse
contaminated engine oil or vegetable oil
• Checkengineoillevelonlywiththeenginestalledandwithunitonlevelground.
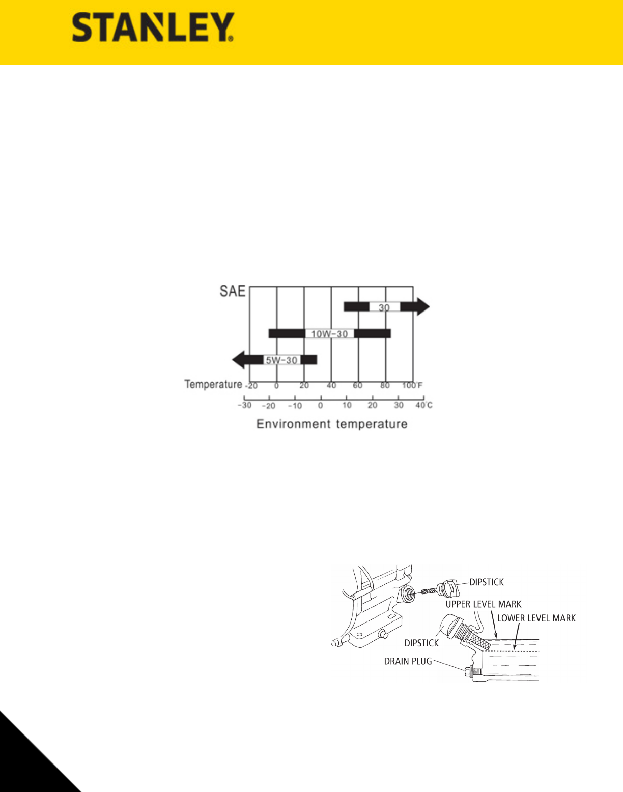
o Use 4-stroke gasoline engine oil equivalent in quality with SF, SG from API.
Oil velocity varies with average environmental temperature. Select engine oil with proper velocity
using the chart below in accordance with your regional environmental temperature.
The engine oil alarm system aides in avoiding engine damage due to improper amounts of
engineoilinthecrankcase.Beforetheengineoillevelinthecrankcasedropsbelowthesafety
line, the engine oil alarm system will automatically stall the engine (while the engine switch
remains in the “ON” position).
If the engine stops and will not restart:
1. Remove the engine oil dipstick and wipe it
clean.
2. Insert the dipstick into the engine oil filler
hole without screwing it in.
3. Remove dipstick and check engine oil amount.
4. If engine oil is below required amount, fill
specified engine oil up to the top of filler hole.
Use engine oil depended on environmental
temperature. Refer to Product Specification section
for proper engine oil capacity.
Engine Oil Alarm System
14










