
Operating Manual
Torque Values for Rotor Torque Locking Assemblies
Pump Torque Key Size
Nm (lbft) mm
D4 4.1 (3.0) 3
D5 8.5 (6.3) 4
D6 14.0 (10.3) 5
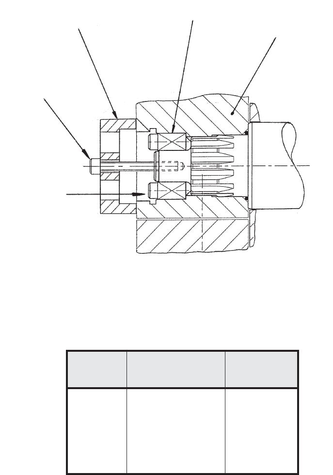
Rotor
TLA
Rotor Clamp
Screw
Access to TLA
through slots
8.3 Rotor Retention: Torque Locking Assembly
25