User guide
Table Of Contents

148
Model 6036
General Maintenance
B. Top Boom Chain Tension Adjustment
(As required)
NOTE: Always perform the “Boom Chain Tension Check” starting on
page 144 before adjusting the boom chain tension.
1. Park the vehicle on level ground. Place the travel select lever in (N)
NEUTRAL, move neutral lock lever to NEUTRAL LOCK position,
engage the parking brake switch and raise the boom to a horizontal
position. Retract the boom completely and turn the vehicle OFF.
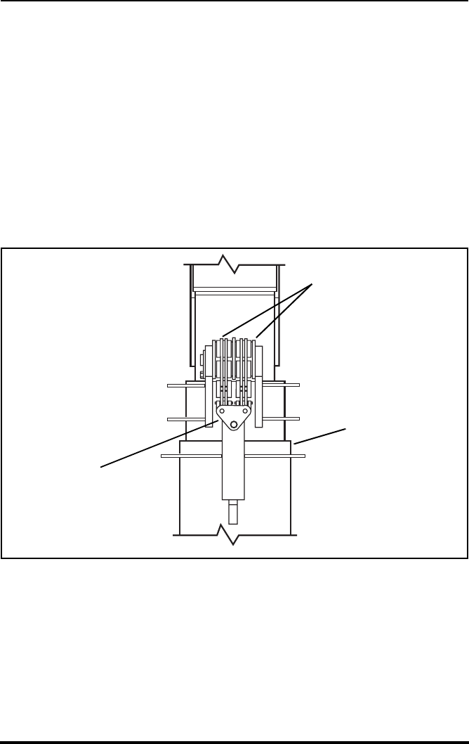
2. Adjust the top extend boom chains (Figure 99, 1) by tightening the
locknuts (Figure 100, 1) located at the rear of the boom. Be sure
each locknut is tightened equally so that each chain maintains the
same tension.
Figure 99
3. Equal chain tension can be checked by the position of the yoke
(Figure 99, 2) on the outer boom (3). The front of the yoke should
be parallel with the front edge of the boom.
OH0240
1
2
3