Fibre Channel 3.5-Inch Solid State Drive Product Manual

56 Zeus
IOPS
3.5-Inch Fibre Channel Solid State Drive Product Manual Rev. 1.0
An Arbitrated Loop has the following states:
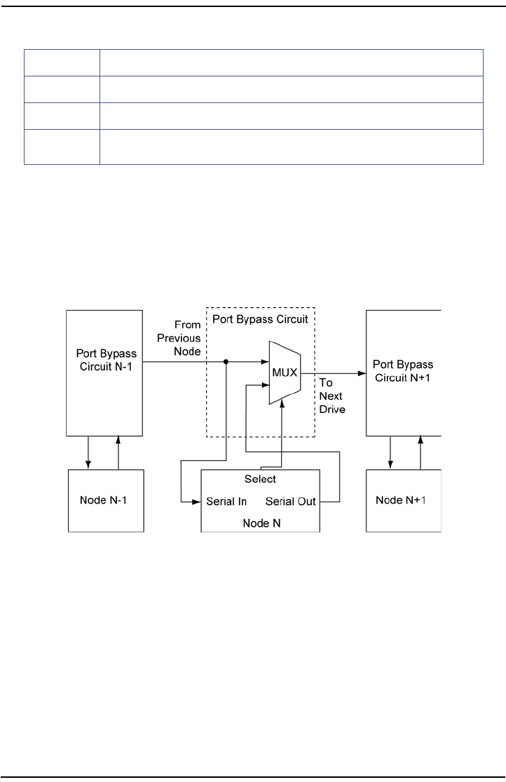
A node can be “hot plugged” where it is inserted or removed from the loop. When hot plugged, the
loop loses “sync” and must “reinitialize”. The loop will be able to recover any lost communications
during the hot plugging. Typically, a backplane may have a “bypass” circuit. See Figure 6. When
enabled, the bypass circuit will remove the device from the loop while keeping the loop connected.
The loop will remain operational while the device is connected, performs its POSTs, and becomes
ready.
Figure 6. Typical Backplane Bypass Circuit
Monitoring Each port acts as a repeater while listening for further instructions.
Arbitration The port requests to own the loop.
Open The port wins arbitration and connects to another device.
Closed
The port relinquishes control of the loop and the loop is in the process of returning
to a monitoring state.










