Datasheet
Manuals
Brands
Silicon Power Manuals
computer components
SP002GBSTU160V01
10
11
12
13
14
15
16
17
18
19
DDR3 SODIMM
Product Datasheet
Rev
. 1.5a Nov
. 2012
18
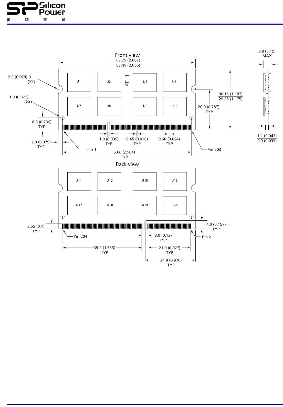
Simplified Mechanical Drawing(x8 2Ranks)
Note 1:
All dimensions are in millimeters (inches
); MAX/MIN or typica
l (TYP) where noted.
Note 2:
The dimensional diagram is for reference only.
1
...
...
16
17
18
19