Datasheet
Manuals
Brands
Silicon Power Manuals
computer components
SP002GBSTU160V01
10
11
12
13
14
15
16
17
18
19
DDR3 SODIMM
Product Datasheet
Rev
. 1.5a Nov
. 2012
16
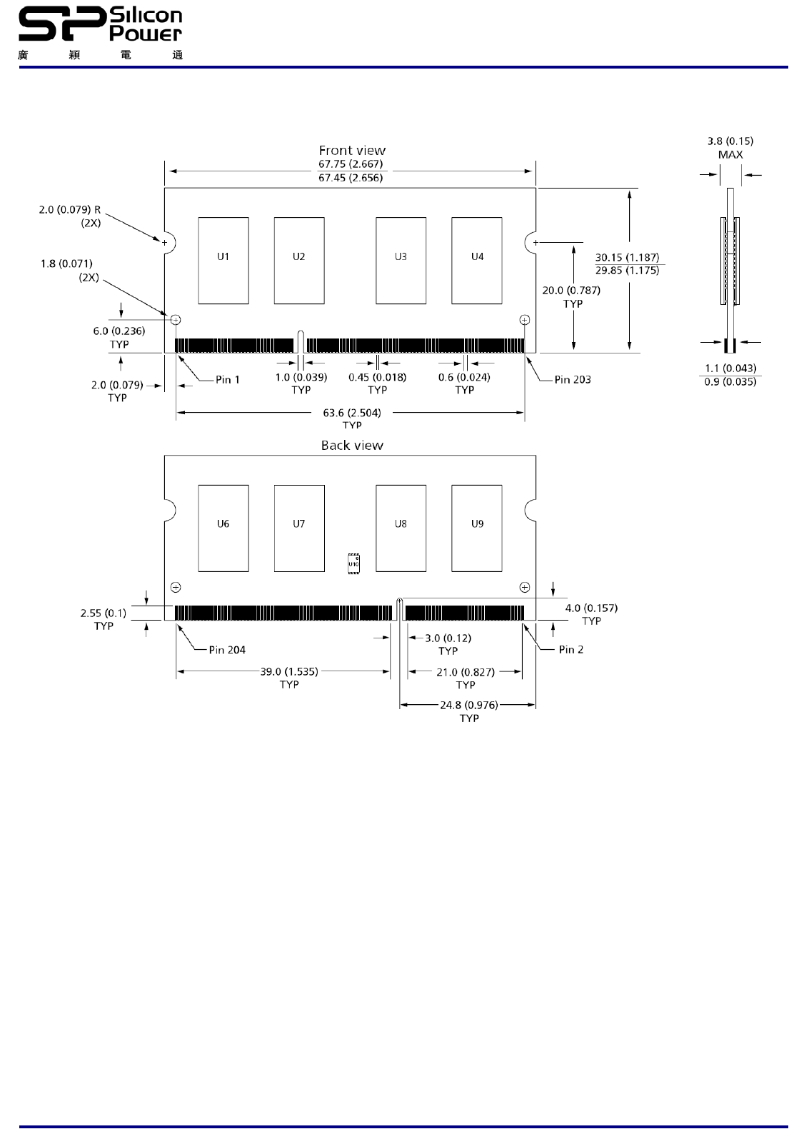
Simplified Mechanical Drawing(x8 1Rank)
Note:
1. All dimensions are in millimeters (inches
); MAX/MIN or typical (TYP) where noted.
Note:
2. The dimensional diagra
m is for reference only.
1
...
...
14
15
16
17
18
...
19