
Connecting tubes
1
6 | 20 A6V11841988_en--_b
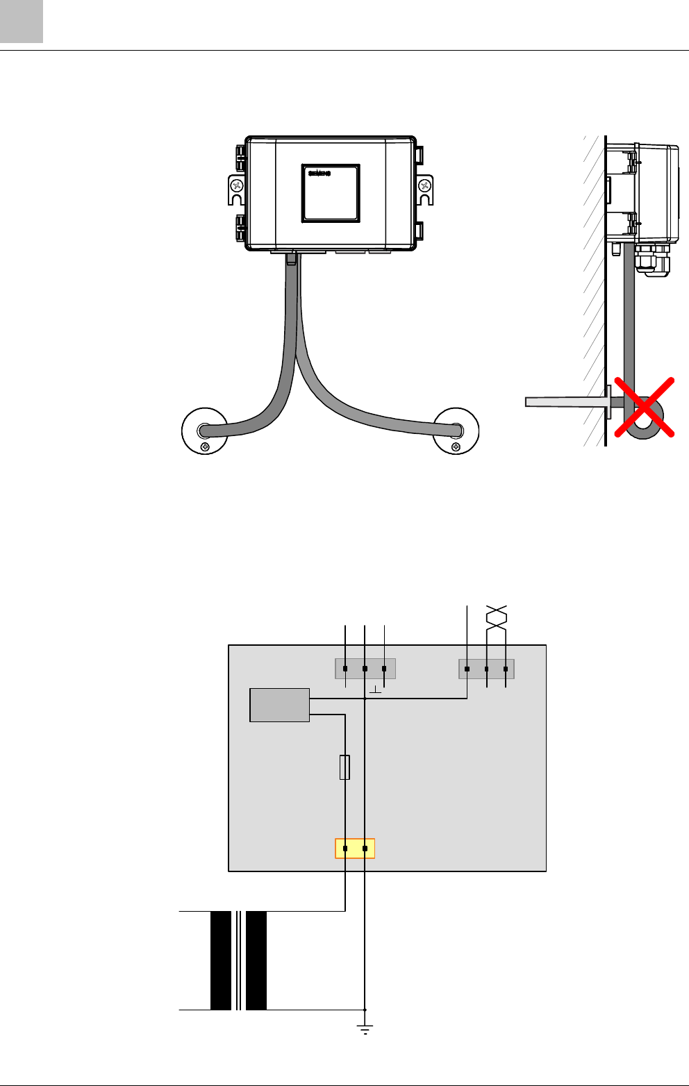
1.3 Connecting tubes
Connect the tubes Avoid loops
1.4 Wiring
1.4.1 Electrical grounding
Note the following grounding situation of the QBM3700...
Transformer
Power-
supply
24V
0V
REF B- A+
Earth
Sensor module
Not isolated RS485
M
Starting point