User Manual
Table Of Contents

9/12
Siemens Actuators for fire and smoke protection dampers GRA126.1E/.., GRA326.1E/.. A6V10888424en
Building Technologies 2016-12-05
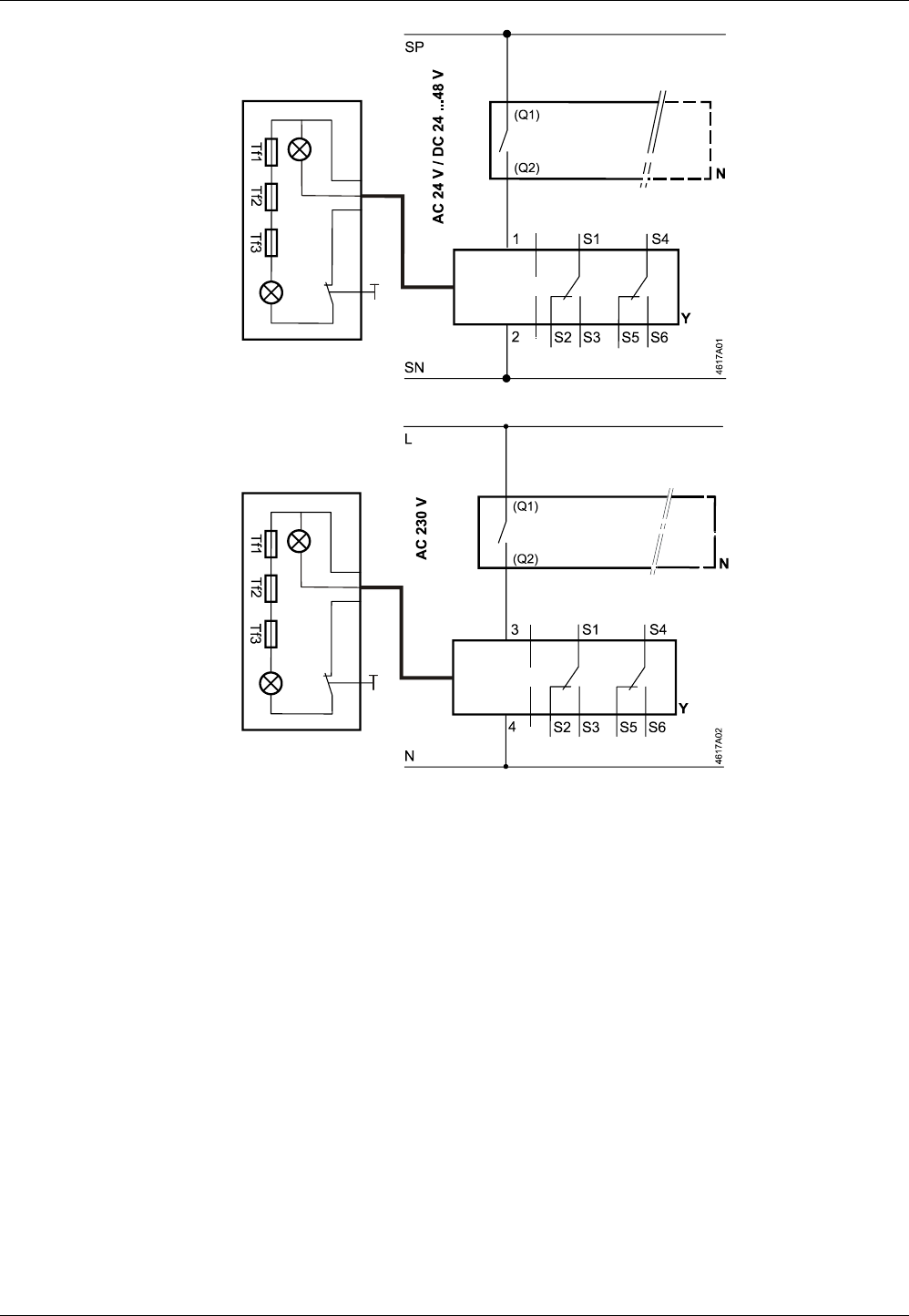
Connection diagram
AC 24 V
DC 24…48 V
(SELV/PELV)
N Controller
Y 2-position actuator
SP System potential
SN System neutral
AC 230 V
N Controller
Y 2-position actuator
L Live
N Neutral conductor
GRA126.1E/..
GRA326.1E/..










