User Manual

74 319 0520 0
M4689-Z/C13
GHD131.2E
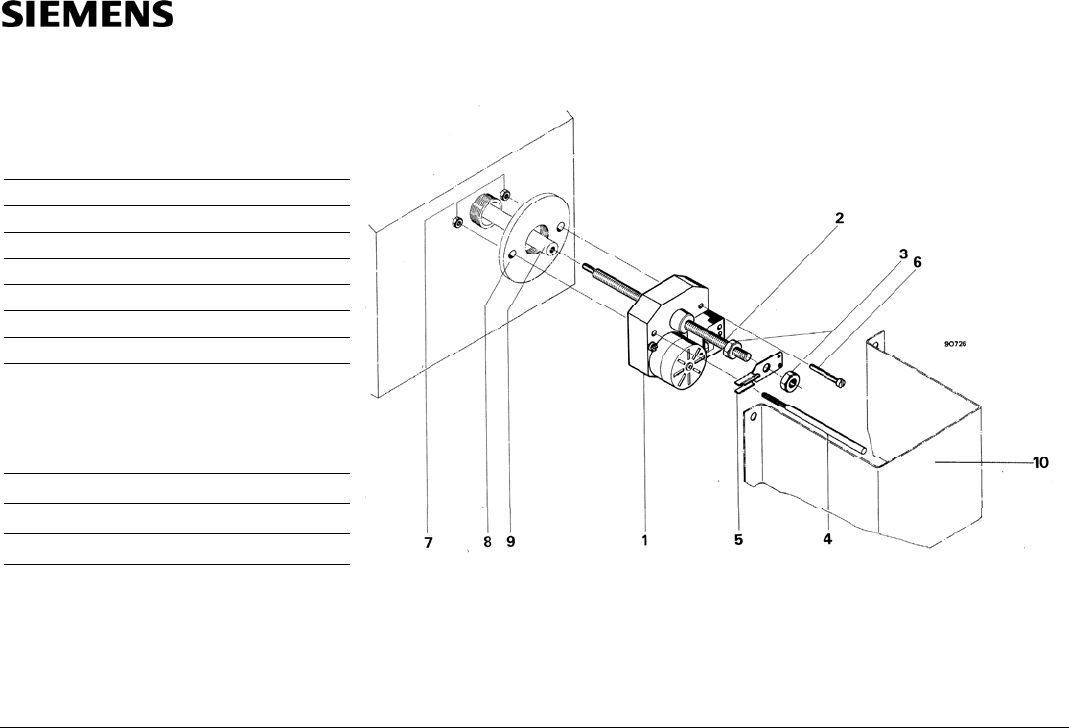
Stück
Bauteil Pos.
1 GHD131.2E 1
1 Gewindespindel 180 mm 2
2 6 kt. Mutter M8 x 2,5 3
1 Stange Hub 120 4
1 Verdrehsicherung 5
1 Zyl. Schraube M4 x 30 6
2 6 kt. Mutter M4 7
Lieferung Kunde
1 Befestigungsplatte 8
1 Führungsstange 9
1 Abdeckung 10
Building Technologies / HVAC Products 74 319 0520 0 a M4689-Z/C27de 10.01.2006 1


