User Manual

GHD131.2E, Z/C13
35308 A
Lieferung Landis & Staefa
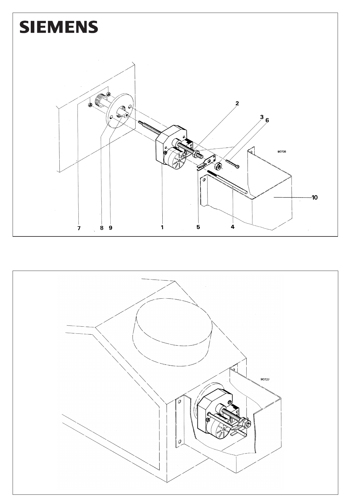
1 GHD131.2E 1
1 Gewindespindel 180 mm 2
2 6 kt. Mutter M8 x 2,5 3
1 Stange Hub 120 4
1 Verdrehsicherung 5
1 Zyl. Schraube M4 x 30 6
2 6 kt. Mutter M4 7
Lieferung Farex
1 Befestigungsplatte 8
1 Führungsstange 9
1 Abdeckung 10
für Farex 2VSL 100 ... 250
Landis & Staefa Division

